滚珠丝杠副结构图

tolomatic 行星滚柱丝杠 滚珠丝杠滚珠装配图解
图片尺寸903x668
滚珠丝杠副发展及研究现状
图片尺寸1890x1051
滚珠丝杠副轴向间隙的调整
图片尺寸640x466
滚珠丝杠图解ppt
图片尺寸800x600
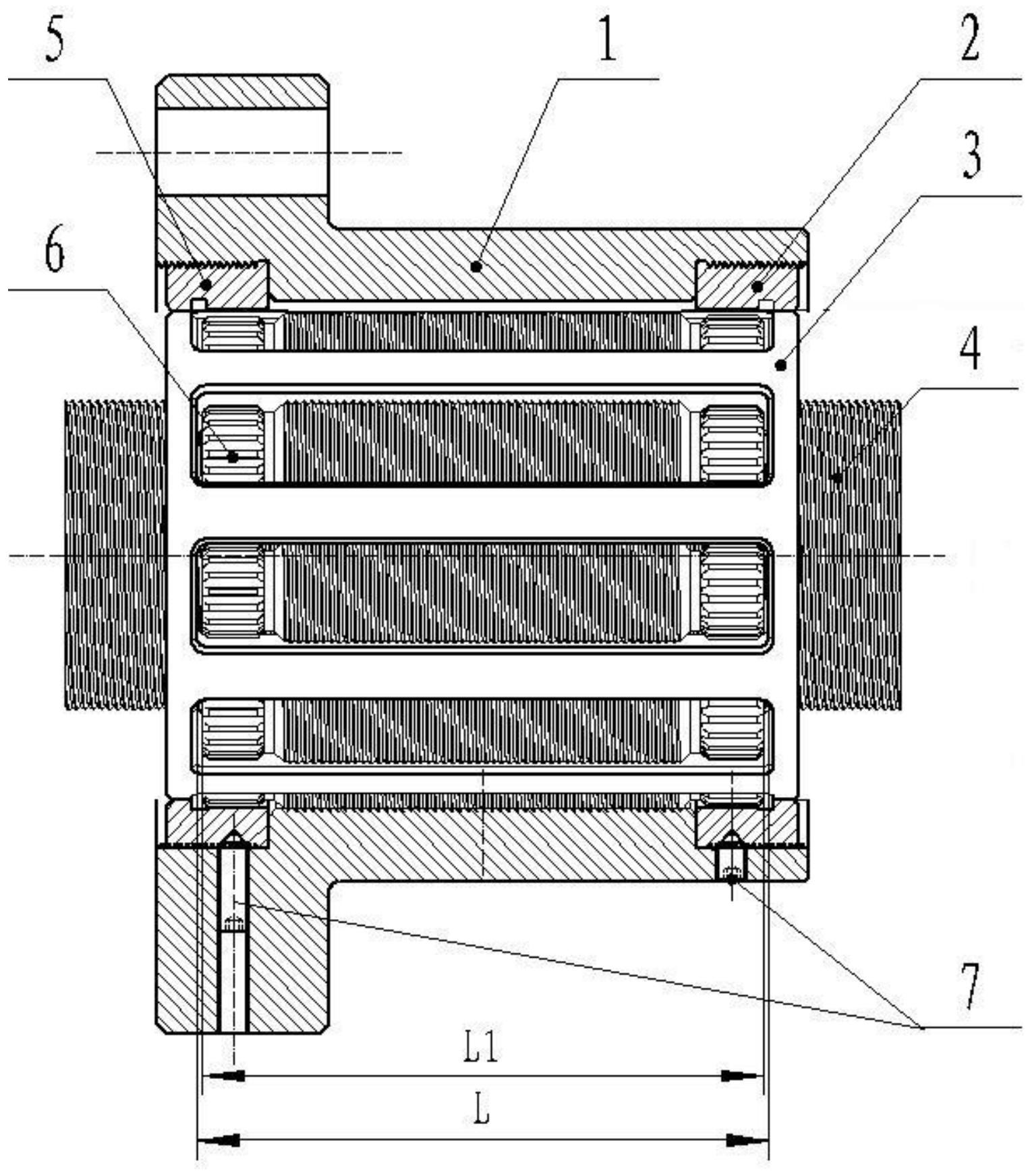
一种行星滚柱丝杠副
图片尺寸1530x1744
图2 滚珠丝杠结构图
图片尺寸1044x560
一,什么是滚珠丝杠
图片尺寸572x276
滚珠丝杠副的机械结构及维护
图片尺寸972x665
球保持器型精密滚珠丝杠
图片尺寸646x373
滚珠丝杠生产厂家教您如何安装滚珠丝杠
图片尺寸494x360
滚珠丝杠副的结构及分类
图片尺寸1457x2051
图1 南京工艺中空冷却丝杠副汉江机床成功研发冷却结构滚珠丝杠副新
图片尺寸1080x371
滚珠丝杠的工作原理
图片尺寸625x832
滚珠丝杠介绍
图片尺寸918x442
滚珠丝杠副的机械结构及维护
图片尺寸909x590
滚珠直线丝杠副
图片尺寸799x390
一种内循环滚珠丝杠副的制作方法
图片尺寸1000x580
滚珠丝杠副激光动态测量系统设计
图片尺寸678x391
滚珠丝杠副的具体结构.
图片尺寸616x296
台湾银泰pmi滚珠丝杠的安装方法
图片尺寸484x230