滤袋图纸

一种除尘滤袋的制作方法
图片尺寸451x429
cn2117201u_高效脉冲袋滤器失效
图片尺寸1856x2400
42根滤袋 bh-cs-袋滤除尘器全套图纸
图片尺寸1327x924
一种带防静电功能的针刺毡滤袋装置制造方法及图纸
图片尺寸1000x931
滤袋下载(25.20 kb,rar格式) 机械cad图纸
图片尺寸1011x743
飚越
图片尺寸409x744
一种可运用于高浓度含尘气体过滤的滤袋装置制造方法及图纸
图片尺寸604x1000
布袋除尘器滤袋及袋笼制作安装施工图 - 通用设备图纸 - 沐风网
图片尺寸370x525
一种耐高温高湿的滤袋及应用该滤袋的布袋除尘器的制作方法
图片尺寸770x1000
过滤袋总图
图片尺寸820x585
fms氟美斯除尘布袋是一个广谱型耐高温滤袋新产品,可以适应各种工况
图片尺寸690x504
4袋式袋式过滤器图纸
图片尺寸1024x684
一种改进结构的袋式过滤器
图片尺寸1598x1941
均匀分布料液的袋式过滤器的制造方法
图片尺寸897x1000
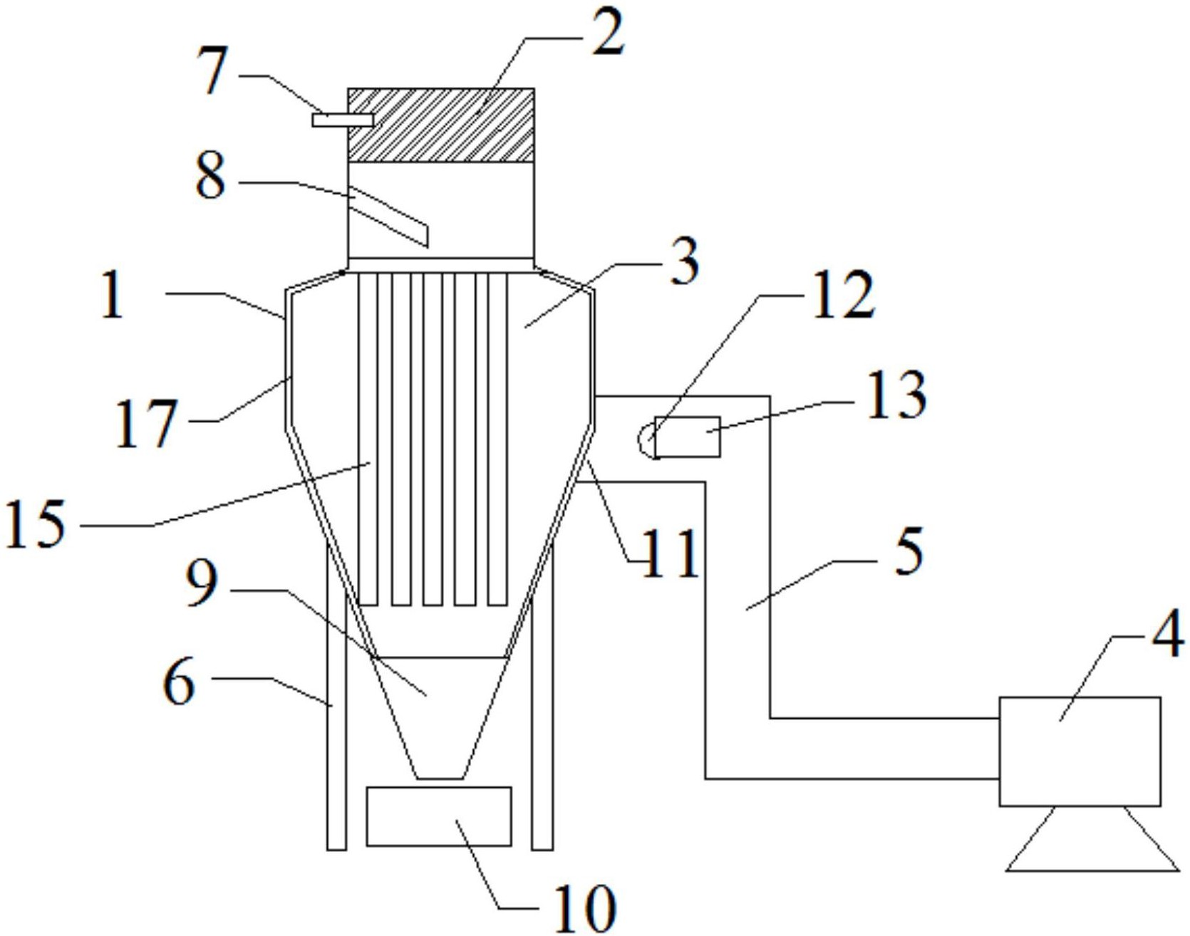
本实用新型公开了一种炭黑加工用袋滤器,包括箱体,进料管,滤袋,风机和
图片尺寸1670x1314
喷粉室滤袋除尘筒结构 - 通用设备图纸 - 沐风网
图片尺寸390x452
滤袋
图片尺寸664x490
滤袋是将纤维织制滤料采用缝细或热熔等方式制作而成的柔性过滤元件
图片尺寸664x422
5um 温度:150℃ 材质:cs,304,316,316l 滤袋型号:1号,2号,3号,4号袋
图片尺寸874x564
工业袋式过滤器布袋式过滤器精密袋式过滤器品悦定制
图片尺寸720x592