滴定管结构
 - 碱式滴定管的使用课件杨春艳等pptppt图片尺寸860x645
 - 化学小知识—酸,碱滴定管的结构与装液类型 8215酸式滴定管(图中a图片尺寸1052x1280
 - 滴定这样,酸式滴定管里是酸,锥形瓶里是碱图片尺寸258x383
 - 一种碱式滴定管图片尺寸837x1154
 - 瓶的使用方法 实验玻璃仪器 量筒的使用 玻璃仪器使用 滴定管的使用图片尺寸1080x810
 - 天平- 热门商品专区图片尺寸1080x1050
 - 一种酸式滴定管图片尺寸918x1379
 - 可自动调零的微量滴定管的制作方法图片尺寸695x1000
 - 四大滴定归纳总结图片尺寸566x419
 - 一文看懂化学滴定分析法——培优精选|药物分析系列44_滴定管图片尺寸478x489
 - 二,中和滴定的仪器 主要仪器 : 铁架台 滴定管 夹 滴定管 锥形瓶 烧杯图片尺寸1080x810
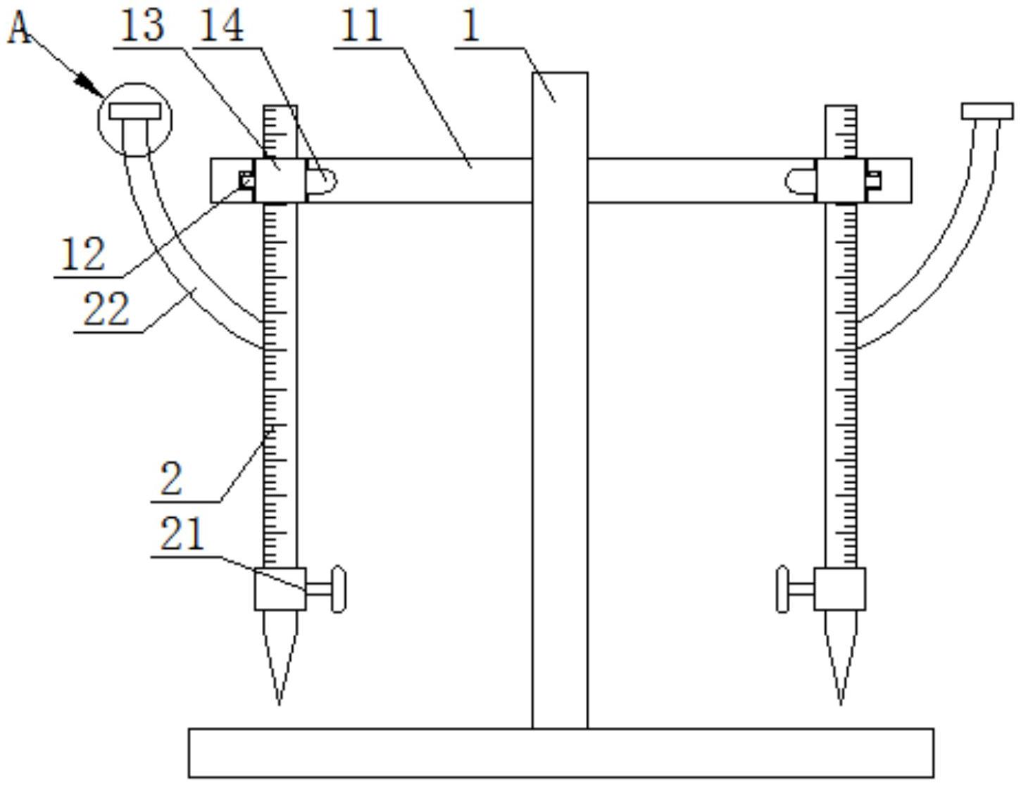
 - 一种高精度双管酸碱通用滴定管的制作方法图片尺寸676x1000
 - 一种方便读数的碱式滴定管的制作方法图片尺寸405x506
 - 滴定管的使用操作及注意图片尺寸666x888
 - 一种酸式滴定管的制作方法图片尺寸668x1000
 - 一种实验室微量滴定管图片尺寸245x395
 - 滴定管的区别 酸碱滴定管的区别在何处图片尺寸464x387
 - 一种分离式滴定管图片尺寸1450x1117
 - 一种一次性使用滴定管式输液器图片尺寸735x1073
 - cn207992135u_一种便于清洗的酸碱共用式滴定管有效图片尺寸216x367