滴定装置图

p>滴定是指一种定量分析的手段,也是一种 a href="#" data-lemmaid="
图片尺寸307x519
测定酸碱滴定曲线
图片尺寸449x480
滴定
图片尺寸268x453
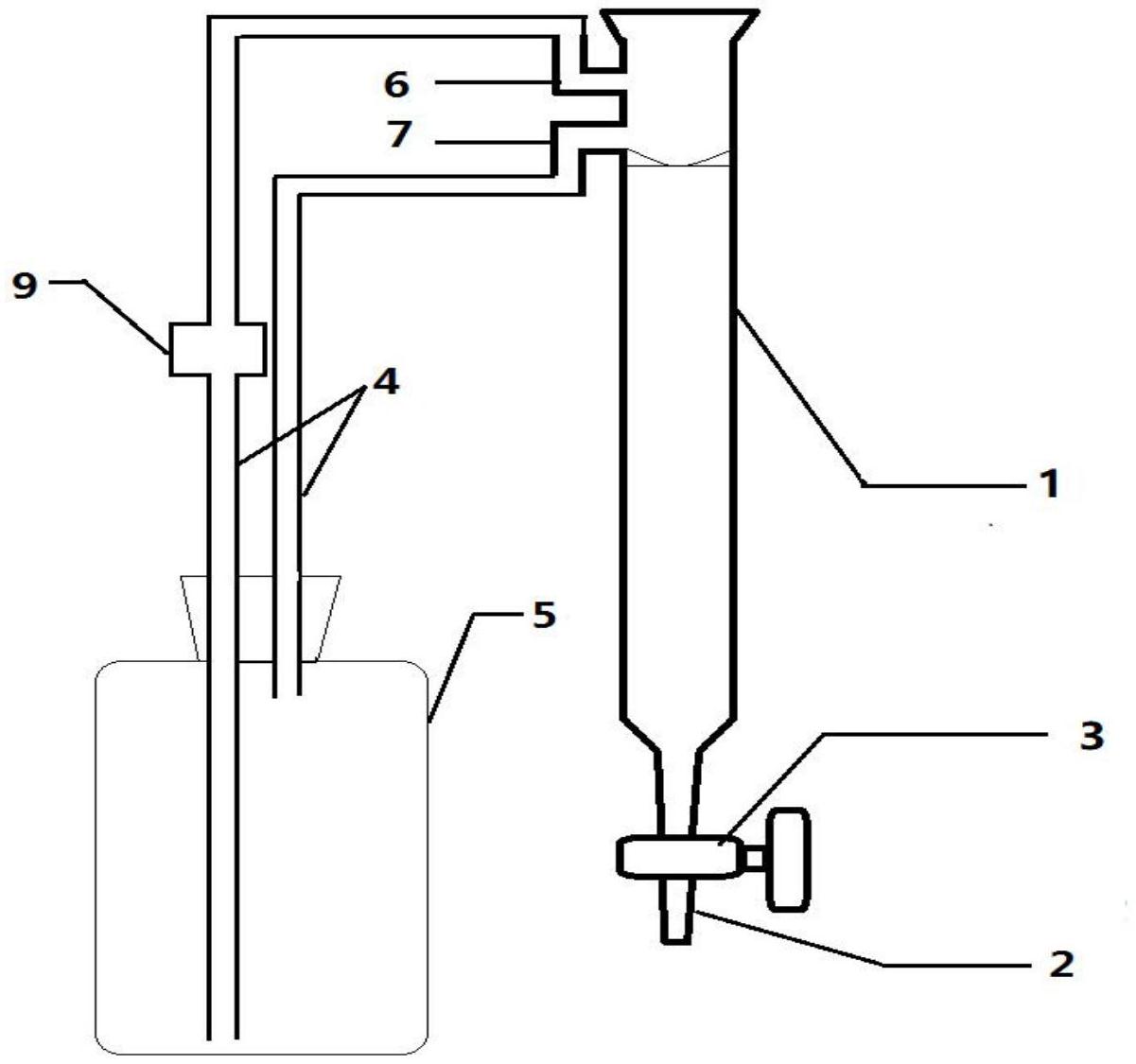
图 自制简易电位滴定装置图
图片尺寸1575x1124
氢氯酸
图片尺寸1071x632
电位滴定法的应用
图片尺寸638x312
化学:3.2.4《酸碱中和滴定》课件(人教版选修4)ppt
图片尺寸1170x810
实验室酸碱滴定装置 酸碱中和滴定管实验装置 10ml 25ml 50ml 100ml
图片尺寸800x800
电位滴定
图片尺寸375x405
2019高考化学一轮复习酸碱中和滴定导学案(3)(含解析)
图片尺寸194x337
彭立安酸碱中和滴定预学,导学案
图片尺寸1091x885
一种化学分析滴定试验装置的制作方法
图片尺寸875x1000
一种酸碱滴定装置
图片尺寸1038x971
一种非水溶液滴定法中的玻璃装置-爱企查
图片尺寸1309x1046
cn106932530a_一种滴定装置在审
图片尺寸1374x1801
一种用于合成反应的自动滴定装置
图片尺寸1000x576
一种便于操作的酸碱滴定装置
图片尺寸1907x1818
一种用于注液回收与调零位的滴定装置-爱企查
图片尺寸1201x1125
一种药学实验滴定装置的制作方法
图片尺寸855x1000
一种医学实验用滴定装置
图片尺寸346x443