滴灌施肥器原理

灌溉施肥一体化比例施肥泵滴灌系列省时省力
图片尺寸406x442
然后在棚内在进行最后的安装;2,以上提供的使用文丘里施肥器的大棚
图片尺寸807x408
带稳流器50cm毛管一出四弯滴箭套装节水灌溉滴灌系统滴箭滴剑
图片尺寸750x962
水肥一体化中水与肥是如何的工作原理重点来了
图片尺寸640x303
叠片网式过滤器设备滴灌喷灌过滤网施肥器自动系统节水灌溉专用
图片尺寸760x572
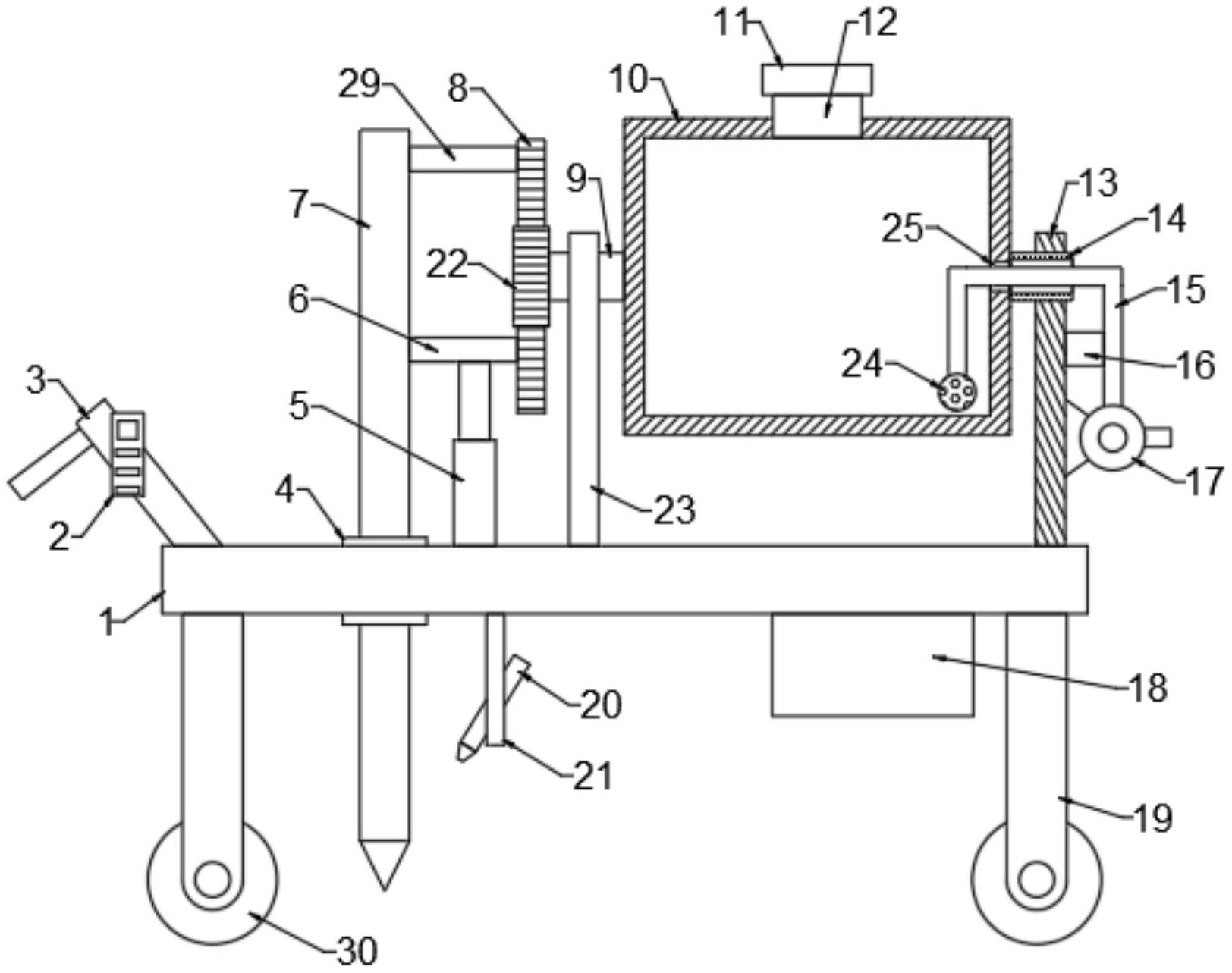
一种烤烟滴灌施肥装置-爱企查
图片尺寸492x495
2寸文丘里施肥器 滴灌注肥器带2米吸管
图片尺寸904x915
文丘里施肥器1.jpg
图片尺寸480x480
施肥机等 t型叠片过滤器 球阀 灌溉管道 灌溉支管 滴灌带滴灌管滴头
图片尺寸773x535
全新料施肥罐施肥器滴灌施肥微喷施肥清洗方便造价低
图片尺寸960x1920
是一家集塑料管材,管件,喷灌,滴灌,过滤器,施肥器,进排气阀,内镶滴灌
图片尺寸1000x1000
越阡农业智能水肥一体机机械设备水肥一体化灌溉滴灌喷灌施肥器
图片尺寸1819x1819
文丘里施肥器农用大棚温室微喷滴灌施肥设备水肥一体吸肥器 定制 63
图片尺寸960x960
智能施肥一体机农业大田大棚自动灌溉施肥器
图片尺寸790x905
升/50升塑料施肥罐滴灌施肥水肥一体化施肥罐厂家直销63文丘里施肥器
图片尺寸750x750
供应温室大棚用文丘里施肥器大棚蔬菜t型施肥器使用方法
图片尺寸900x900
一种甘薯育苗滴灌用施肥器-爱企查
图片尺寸1624x1283
滴灌施肥器最简单方法?
图片尺寸983x1280
丰节水设备有限公司位于牡丹之乡菏泽郓城,是一家集智能多功能施肥机
图片尺寸1920x660
施肥器-手动施肥机介绍 价格便宜单通道水肥一体机
图片尺寸997x759