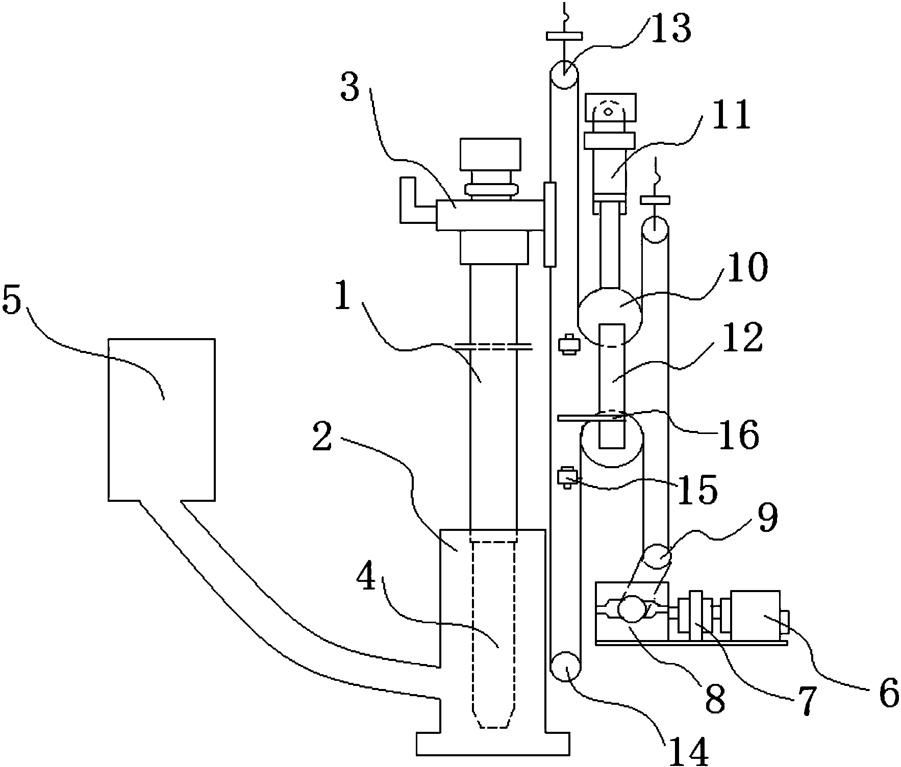
潜孔钻机结构简图

液压卡盘式长行程推进式钻机
图片尺寸1694x1912
潜水钻机钻孔示意图
图片尺寸757x992
cn208220694u_潜孔钻机有效
图片尺寸1984x2362
潜孔钻机的制作方法
图片尺寸840x1000
一种潜孔钻机的制作方法
图片尺寸1000x898
框架结构,以两侧槽钢的内槽为动力头上下运行的轨道,保证钻孔的垂直度
图片尺寸613x655
一种运动稳定性的潜孔钻机的制作方法
图片尺寸1000x893
一种具有除尘功能的潜孔钻
图片尺寸1766x1504
cn102828690a_步履式双回旋潜孔钻机有效
图片尺寸556x1000
1894年德国霍尼希曼 (hnigmann)研制成分次扩孔旋转钻机,为现代钻井
图片尺寸587x850
石油钻机的主要概念和基本知识
图片尺寸597x924
一种立式深孔钻机床的制作方法
图片尺寸822x1000
cn102822442b_钻机和钻孔方法有效
图片尺寸913x1000
旋挖钻机组成
图片尺寸343x457
cn107538048a_一种高精度电动打孔机在审
图片尺寸1000x704
挖改潜孔钻机
图片尺寸1200x1210
潜孔钻机及带有钎杆结构和潜孔钻机的冲击锤的制作方法
图片尺寸534x535
水钻打孔机
图片尺寸1000x794
宇成kqd-100电动潜孔钻机 支架式更方便
图片尺寸721x398
一种钻机自行走装置的制造方法
图片尺寸1000x922