潜望镜平面简易图

如图所示是潜望镜的结构示意图,其中两块平面镜均相对水平面倾斜45
图片尺寸950x494
一种管道潜望镜
图片尺寸1123x2681
潜望镜是由两块平面镜组成的,且它们相互平行,与水平方向的夹角为45
图片尺寸535x480
潜望镜,探险,人的眼睛,绘画插图,透明
图片尺寸1100x1100
水底潜望镜
图片尺寸155x248
新型潜望镜教具
图片尺寸800x1316
图46160所示为潜望镜的结构原理图(平面镜与管壁的夹角大小为4566
图片尺寸288x201
一种带光源的可伸缩的潜望镜的制作方法
图片尺寸531x1000
解:潜望镜是由两块平面镜组成的,且平面镜是成正立,等大的虚像,如图
图片尺寸1174x1073
怎样用牙膏盒作潜望镜要图
图片尺寸500x322
(2018·崇川校级期中)如图所示为潜望镜的结构示意图,通过这样的潜望
图片尺寸1179x900
一种便于使用的潜望镜的制作方法
图片尺寸534x1000
潜望镜图标设置轮廓样式
图片尺寸1200x1097
其它 玩中学实验课程实录(二) 写美篇制作潜望镜只给了孩子们一张卡纸
图片尺寸1440x1638
如图所示是潜望镜的结构示意图,其中两块平面镜均相对于水平面倾斜45
图片尺寸486x344
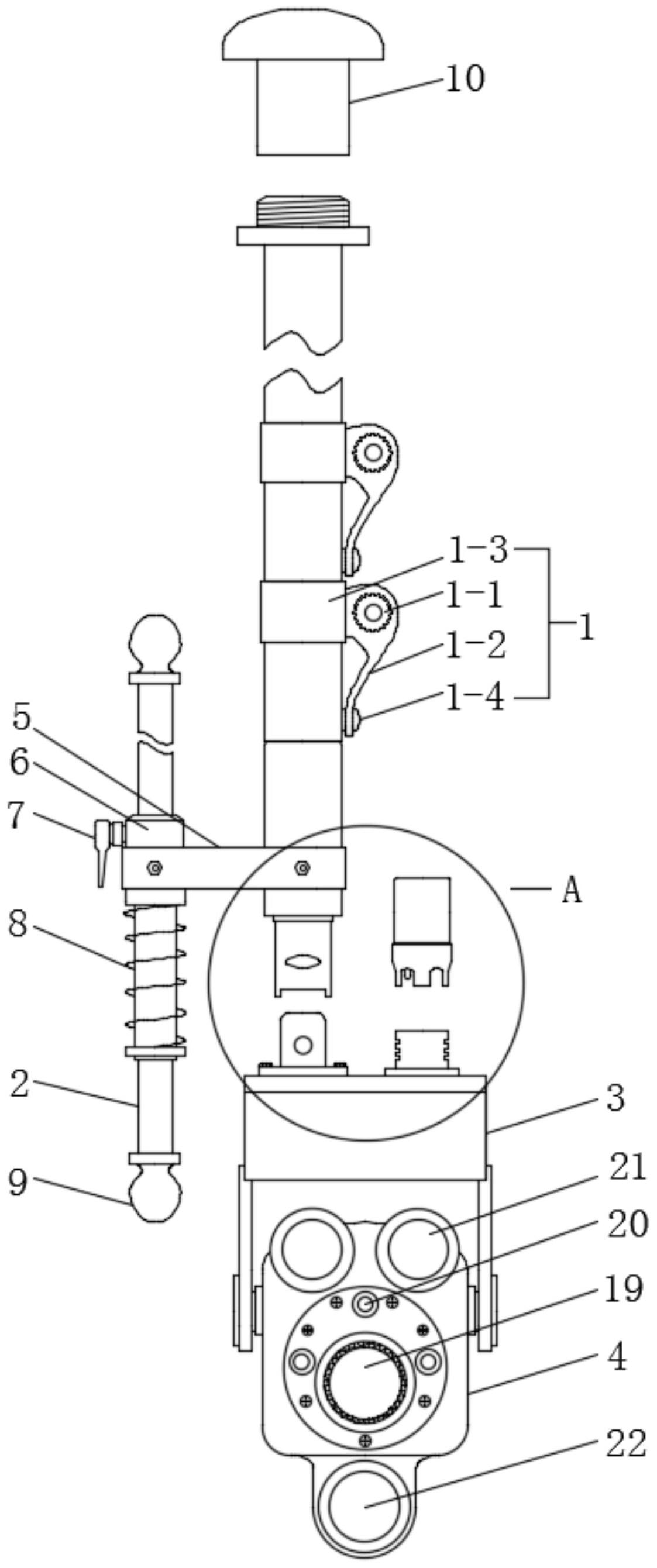
一种具有防撞功能的管道潜望镜
图片尺寸1600x2350
潜望镜制作
图片尺寸322x184
【题目】如图所示是潜望镜的结构示意图,其中两块平面镜均相对水平面
图片尺寸285x156
一种带光源的可伸缩的潜望镜的制作方法
图片尺寸567x1000
一种用于海底测量的潜望镜的制作方法
图片尺寸734x1000