激光雕刻机结构原理图

特别涉及一种步进式高精度光刻机,包括有工作台,激光器,光束矫正器
图片尺寸1683x1748
有钱也不一定能买到进口光刻机,中国的国产光刻机和国际上的差距
图片尺寸640x405
stm32激光雕刻机资料整理系统整体原理图
图片尺寸920x651
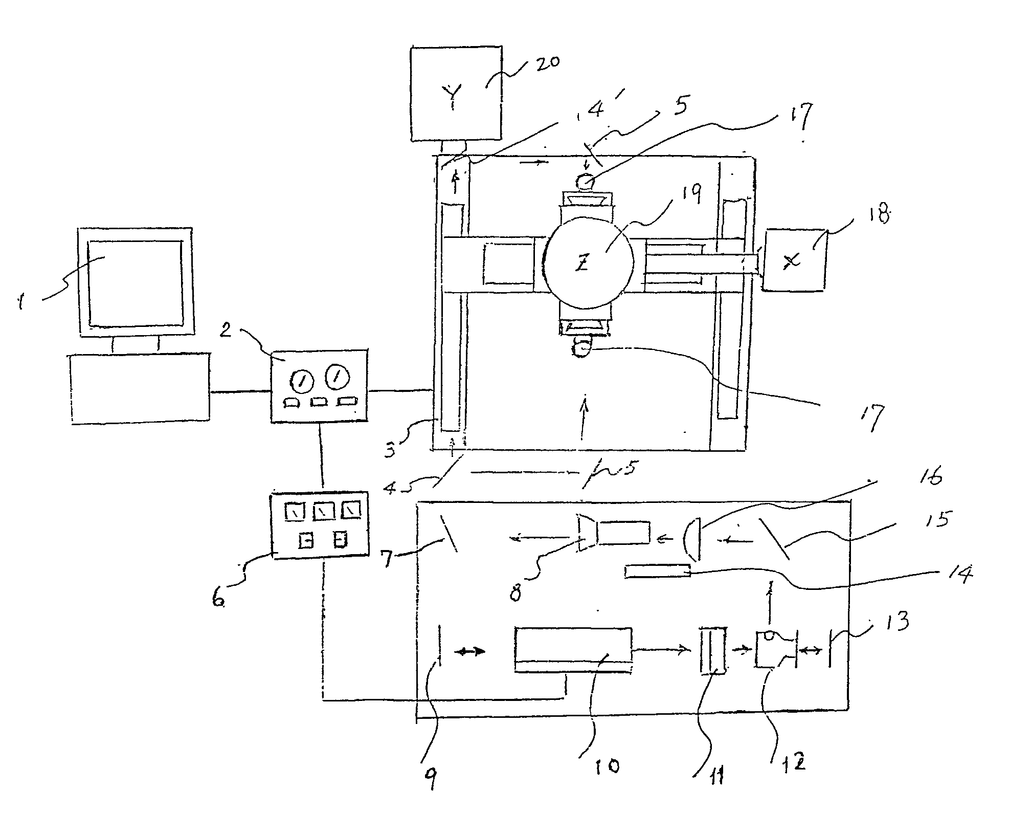
cn101209641a_激光雕刻系统及方法失效
图片尺寸1875x1239
光刻机的原理光刻机的工作原理和胶片照相机的原理很相似,都是通过
图片尺寸640x408
一种激光雕刻机的制作方法
图片尺寸906x1000
激光切割机原理图
图片尺寸435x278
diy一个小型激光雕刻机
图片尺寸1452x1039
一种基于蓝牙微型激光雕刻机及其操作方法
图片尺寸1661x1329
长春光机所承办研制物镜,科益宏源在光源方面实现了arf准分子激光光刻
图片尺寸640x397
激光内雕机中三维控制系统的设计
图片尺寸951x752
雕刻机原理图示
图片尺寸582x327
一种激光雕刻机的制作方法
图片尺寸505x332
激光切割
图片尺寸593x455
cn209681429u_一种激光切板雕刻机
图片尺寸1000x922
简述光纤激光切割机的工作原理
图片尺寸439x642
多头三维激光雕刻机
图片尺寸2016x1632
本技术涉及激光雕刻机领域,特别涉及一种基于光纤激光器的激光雕刻
图片尺寸577x501
一种光纤激光雕刻机
图片尺寸1914x1303
一种激光雕刻机的制作方法
图片尺寸1000x728