火花机结构

电火花加工的多种类型及其技术特点解析
图片尺寸1080x933
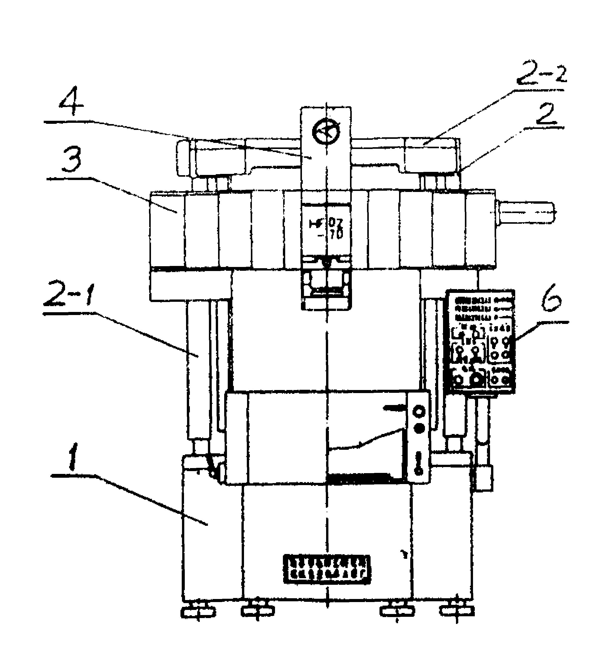
日鑫火花机znc450机床的结构示意图
图片尺寸830x639
一种配有成型电极气膜孔电火花加工机床的制作方法
图片尺寸1758x1776
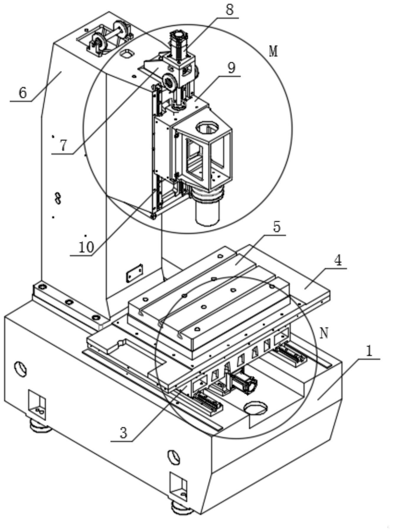
一种具有减震效果的数控火花机有效
图片尺寸1752x1920
电火花机床机械结构设计
图片尺寸1198x849
大型环形工件精密电火花机床
图片尺寸2400x2592
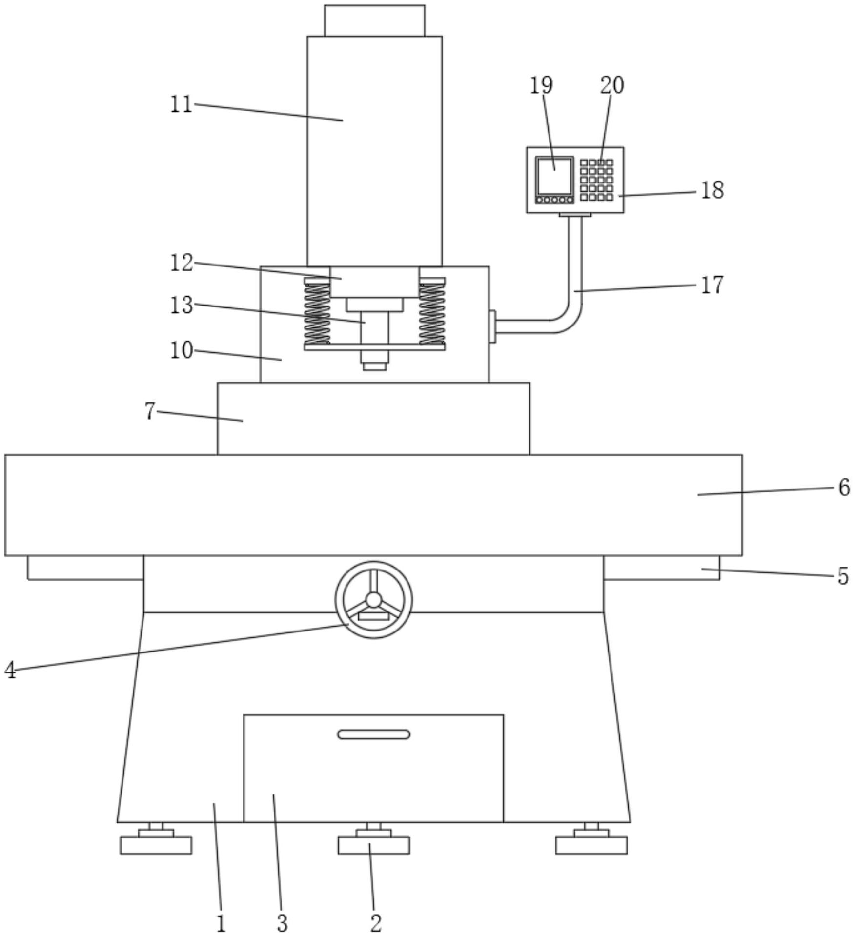
一种具有高稳定性结构的数控电火花机
图片尺寸800x695
电火花数控成型机床
图片尺寸2000x1813
一种增加定位杆的火花机有效
图片尺寸1000x742
今一火花机
图片尺寸2160x1620
一种电火花成型机床混粉加工装置的制作方法
图片尺寸1738x2138
一种多功能数控电火花成型机床
图片尺寸1331x1800
三轴数控电火花成形机nh250
图片尺寸542x465
cncwindow系统机床石墨电火花机
图片尺寸841x594
电火花成形机
图片尺寸400x440
中国火花机第一品牌,精密型,单牛头,双牛头,总有一款适合你!
图片尺寸1918x1228
火花机
图片尺寸761x813
一种电火花线切割机的制作方法
图片尺寸1549x1452
一种高精度五轴数控电火花磨刀机的制作方法
图片尺寸890x1000
电火花机在汽车行业中的应用
图片尺寸779x623