灭蚊器结构

淘宝上面的灭蚊灯有用吗
图片尺寸790x1007
小点子 户外驱蚊器 移动驱蚊器 户外使用驱蚊 儿童推车 钓鱼 车载
图片尺寸750x780
小禾dhmwcwb001智能光控灭蚊器拆解
图片尺寸814x677
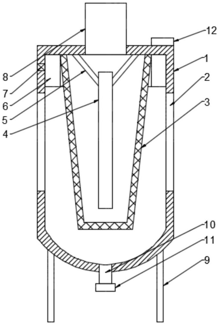
一种诱捕式灭蚊器
图片尺寸1188x1608
如图是家用喷杀蚊蝇用的喷雾器示意图,它的工作原理是:推动活塞时,细
图片尺寸417x384
小禾电子灭蚊灯吸捕蚊子光触媒驱蚊室内卧室婴儿家用静音诱蚊神器-t
图片尺寸658x984
了一种便于清理蚊蝇躯体的电子灭蚊装置,包括机体,机体是圆柱筒结构
图片尺寸744x1105
的器械,包括底座,照明组件,以及设于底座及照明组件之间的灭蚊器组件
图片尺寸2080x2052
无辐射孕妇婴儿灭蚊灯usb蘑菇灭蚊器静音驱蚊灯蘑菇led光触媒伸缩诱蚊
图片尺寸790x691
灭蚊器的制作方法
图片尺寸1000x718
一种采用上下配合结构电网的灭蚊器的制作方法
图片尺寸716x1000
一种新型灭蚊器的制作方法
图片尺寸825x1000
电子/电路 > 电子灭蚊灯根据蚊虫的趋光性典型的电子灭蚊灯外部结构
图片尺寸591x723
博弘灭蚊灯电子灭蚊器光触媒灭蚊灯
图片尺寸790x1086
一种蚊虫诱杀颗粒及含有该诱杀颗粒的移动式诱杀灭蚊器的制作方法
图片尺寸730x1000
蓝光灭蚊器电路原理图及使用注意事项
图片尺寸640x455
一种灭蚊器制造技术
图片尺寸539x880
cn213095674u_一种新型防逃蚊虫的灭蚊灯
图片尺寸1744x2391
一种铁皮石斛大棚内用灭蚊板便于更换的电灭蚊装置制造方法及图纸
图片尺寸344x405
一种灭蚊器的制作方法
图片尺寸774x814