点焊机控制器原理图

大水塘电容式点焊机接线示意图 - 电池,充电器,综合diy - 手电大家谈
图片尺寸1152x648
自制点焊机
图片尺寸600x455
zx7-200直流逆变焊机控制脉冲驱动电路分析
图片尺寸1859x1001
diy超级点焊机
图片尺寸1152x720
直流逆变焊机380-220电压识别切换及锁定电路原理
图片尺寸1805x1013
一种埋弧焊弧压反馈送丝的控制方法及电路
图片尺寸2300x1566
555点焊机电路图
图片尺寸2667x2000
交流电焊机控制电路 接触器控制的交流电焊机电路如下图所示.
图片尺寸1500x1081
电焊机电路的基本组成
图片尺寸705x477
点焊机pcb,大家帮忙看看可不可以用
图片尺寸1275x753
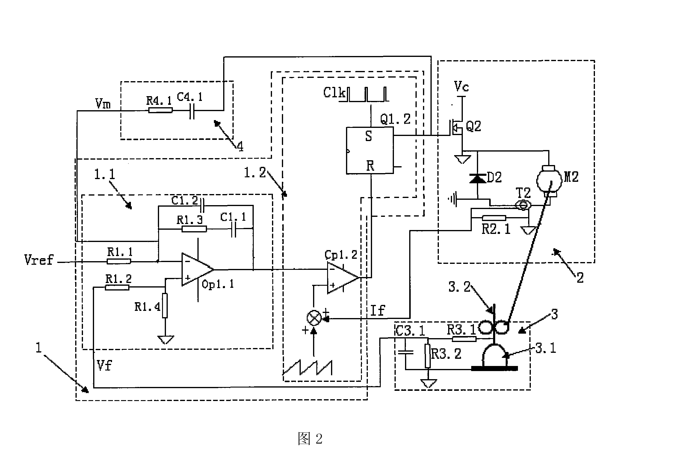
了点焊机的工作原理,分析了点焊机的结构组成,包括焊接装置和控制装置
图片尺寸947x565
脚踏式点焊机电路之三
图片尺寸1047x549
简易电容储能式点焊机
图片尺寸955x635
点焊机(小型自制)-接线图
图片尺寸1465x1122
点焊机控制电路
图片尺寸918x470
逆变焊机维修电路原理图
图片尺寸1080x792
【diy】【18650电池】【点焊机】 - 电池,充电器,综合diy - 手电大家
图片尺寸919x509
储能点焊机
图片尺寸999x763
逆变焊机zx7-315逆变焊机电器维修原理图zx7250电焊机3525管有什么
图片尺寸3509x2481
点焊机控制电路 定时器原理图,555的3脚和三极管基极间有个电阻忘加了
图片尺寸893x338