热场

单晶炉石墨热场|石墨热场|石墨热场系统 固定碳99.995%
图片尺寸551x649
单晶硅热场
图片尺寸993x735
供应美尔森石墨热场
图片尺寸1024x1590
ldk单晶炉热场ppt
图片尺寸800x600
圆柱形支柱和热粘性流体周围域内的热场轮廓图,在热相机颜色表中
图片尺寸1150x691
高温热场
图片尺寸800x400
单晶炉热场设计原理简介
图片尺寸2160x1620
2020年单晶厂炉台数量及热场数据全在这
图片尺寸1080x1080
银点价格热场
图片尺寸1447x484
拉单晶硅用石墨热场
图片尺寸1024x768
组图乌拉特100mw槽式光热示范电站国产化槽式集热场实现高效光热转化
图片尺寸1920x1080
直拉单晶炉热场
图片尺寸980x1042
去年的今明两天闹热场与今年闹热场对比,一场疫情今年闹热场取消 - 抖
图片尺寸886x1920
funmeet蓝宝石单晶炉氧化锆陶瓷热场价格260元公斤
图片尺寸419x500
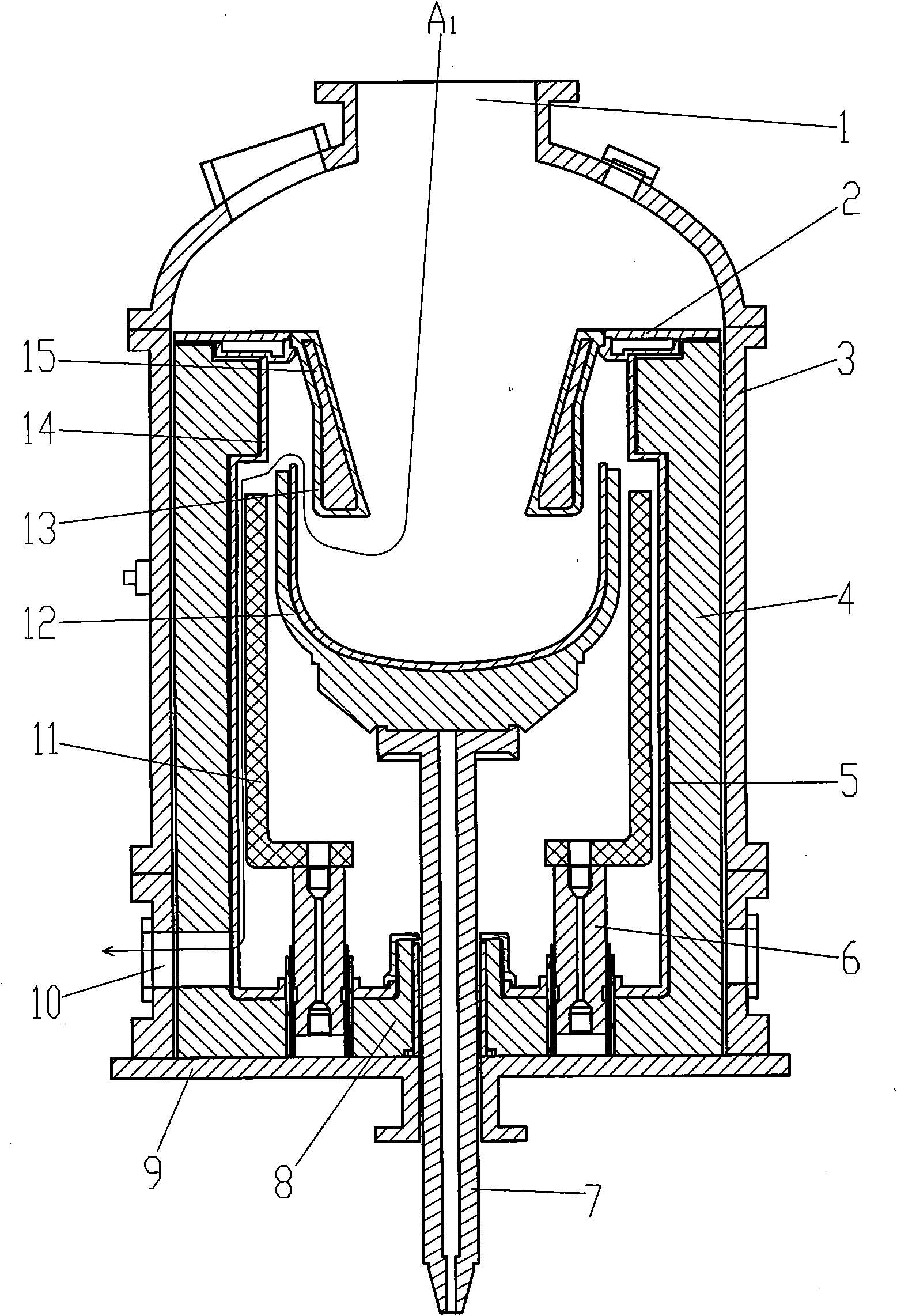
直拉硅单晶热场
图片尺寸1557x2284
浅谈热场设计之应用
图片尺寸670x460
带大家认识下石墨热场
图片尺寸600x600
不同出气方式时多晶硅还原炉内的流场和热场模拟
图片尺寸632x703
光伏行业的新热场材料
图片尺寸485x459
汉虹炉整套热场(石墨件)ug三维视图
图片尺寸1080x810