热缩电缆终端头制作图

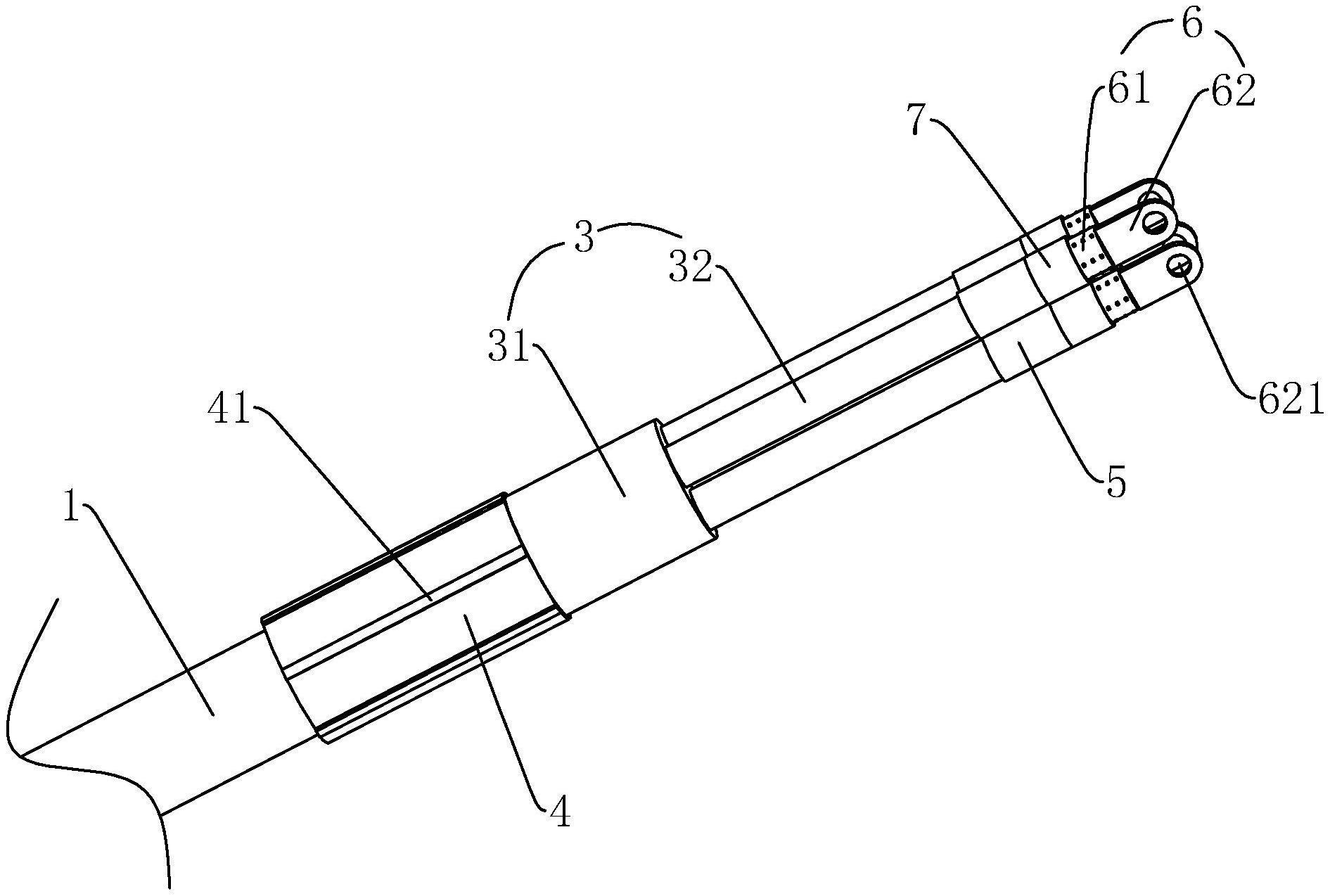
cn212323691u_一种电缆热缩终端头有效
图片尺寸1891x1274
10(6)kv交联聚乙烯绝缘电缆户内,户外热缩终端头制作工艺
图片尺寸295x383
一种电缆热缩终端头的制作方法
图片尺寸1000x675
cnoble35kv高压热缩电缆终端头户内外单芯三芯电缆附件电缆头热缩套管
图片尺寸750x660
热缩电缆头示意图.png
图片尺寸550x400
热缩式电缆终端头
图片尺寸596x640
10kv热缩交联电缆户内终端头 10kv热缩油浸电缆户外终端
图片尺寸340x317
一种热缩电缆终端的制作方法
图片尺寸688x1000
交联聚乙烯绝缘电缆户内户外热缩终端头制作监理质量管理
图片尺寸726x1026
10kv交联电缆热缩接头制作工艺
图片尺寸816x712
10kv热缩终端安装工艺
图片尺寸700x458
一种预制式热缩型户外电缆终端头安装设备以及终端头的制作方法
图片尺寸1842x2765
一种船用电缆热缩终端的制作方法
图片尺寸716x1000
10kv热缩终端_电缆附件_冷缩电缆附件_热缩电缆附件_沃能电力设备有限
图片尺寸290x361
电缆热缩终端接头是什么?
图片尺寸566x662
10kv三芯热缩户内终端如何开拓国际市场?
图片尺寸1280x926
10kv热缩头制作
图片尺寸1024x768
厂家供应三芯接头 电缆附件 电力电缆头 户内热缩式电缆终端头
图片尺寸321x436
电缆终端(冷缩第二代)
图片尺寸1576x4344
10kv单芯户内热缩终端头
图片尺寸790x683