焦枝线图

新手镜头就这么选焦段之谜
图片尺寸720x296
重回焦枝线
图片尺寸1440x1080
04 | 镜头焦段与实际运用:你拍到的是你看到的么?
图片尺寸1921x859
中级摄影课之 你需要怎么样的镜头
图片尺寸700x948![[原创]迁都迁南阳,可迁都地领头羊!](https://imgs.wantubizhi.com/img/735A5D1F980B52A636CC46F12F2D1A7387549E81F9EA8A701AA68E3E0771A877348D977B14AE3834B62DB3BB44258B2B7AC2F5BEA9831E1BDF1039711A482F2F8D22FE3814E45076D952BB965E6C776175EFE992DB1F071FA93CD6C2B0EE9995)
[原创]迁都迁南阳,可迁都地领头羊!
图片尺寸400x511
洛阳焦柳铁路,洛宜铁路改线,势在必行,改线方案孰优孰劣
图片尺寸640x289
超长距离的运煤通道诞生!
图片尺寸556x687
图中铁路干线的名称是
图片尺寸335x277
题快练六自然环境的整体性和差异性_word文档在线阅读与下载_无忧文档
图片尺寸629x516
物理问题一问
图片尺寸1070x773
东西干线:a,京包线 b,包兰线 c,陇海线 d,兰新线 e,沪杭线 f,浙赣线 g
图片尺寸364x336
标准镜头怎么用
图片尺寸500x375
"三纵":京广线,焦枝线,枝柳线三条铁路线,大致同长江干流相交.
图片尺寸832x542
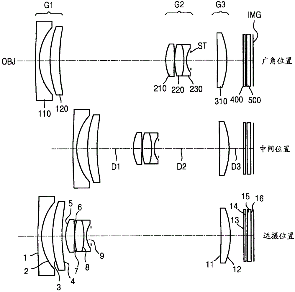
全焦段四摄系统vivox30pro拍照到底做了哪些努力
图片尺寸1000x989
sonypmwex1r后焦调整攻略
图片尺寸930x677
4个从物面到焦平面:什么是对焦核心!
图片尺寸640x423
moving onto felines now. dont want to
图片尺寸658x354
8焦炭商品(资管社区)j2005:焦炭日线级别以略带上引线的小阳形态收尾.
图片尺寸3636x2536
索尼镜头常识基础课程镜头入门小课堂焦距视角透视与光
图片尺寸637x257
焦柳线的起止点
图片尺寸570x228