熄弧板

挡板abb断路器绝缘t17xt2a1a2隔弧相间空开灭弧ot低压断路器
图片尺寸800x800
船体如此引弧板与熄弧板
图片尺寸1944x2592
引熄弧板修割质量仍需重视,尤其自动焊区域,修割不良导致端差超差
图片尺寸800x450
船体如此引弧板与熄弧板
图片尺寸1944x2592
供应nsx cvs nse断路器隔弧板,空气开关隔弧皮,相间隔板
图片尺寸1136x852
双金属复合板86板埋弧焊板明弧
图片尺寸782x586
铝镁锰弯弧板,扇形板,武汉厂家直销
图片尺寸1440x1080
宽度方面,必须加引熄弧板.
图片尺寸755x534
(4)定位焊缝的引弧和熄弧处应圆滑过渡.
图片尺寸1080x810
3引熄弧板加设不规范原因分析及防治措施
图片尺寸686x454
工人进行切割管端引熄弧板作业.李少波摄
图片尺寸700x466
引熄弧板加设不规范02认真审核图纸,了解设计对焊材牌号的要求.
图片尺寸830x542
埋弧焊的工艺特点
图片尺寸241x202
熄弧板自动切割设备所需的关键功能及设计结构通过30余次严谨科学的
图片尺寸1000x750
海安供应yx28-207-828彩钢仿古琉璃瓦 彩钢瓦 825偏弧型琉璃瓦
图片尺寸1440x1919
埋弧焊的引弧板与引出板的使用
图片尺寸600x372
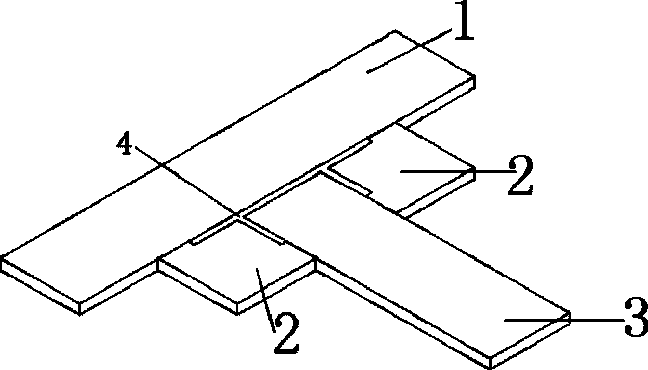
一种引熄弧板在t型接头处焊接结构
图片尺寸1321x756
引熄弧板 目的:把缺陷引出焊缝,是可以 做到的.
图片尺寸1080x810
焊工最应该看的:请记住这些典型的焊接缺陷的照片_熄弧
图片尺寸640x446
一种焊接用引熄弧板-爱企查
图片尺寸800x524