爆震弹

震爆弹
图片尺寸473x285
眩晕手榴弹
图片尺寸470x353
刺激战场震爆弹介绍
图片尺寸312x190
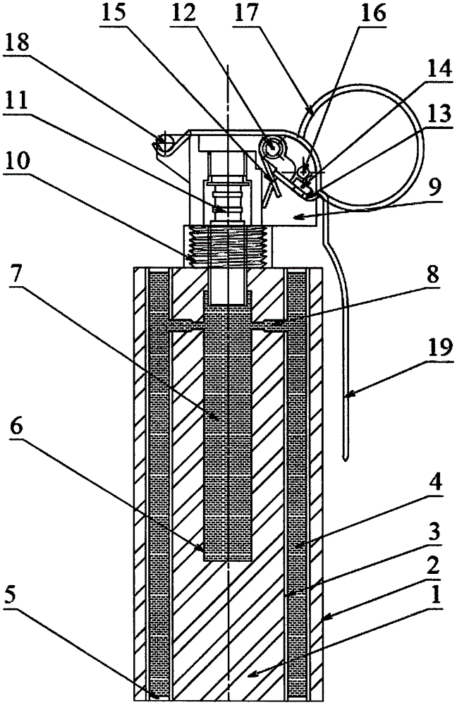
爆震弹-爱企查
图片尺寸534x1151
【小知识:爆震弹】:有效的非杀伤性武器
图片尺寸440x740
全军出击工具震爆弹属性图鉴
图片尺寸1000x358
大发快3计划
图片尺寸588x392
ga/t 1306-20162010式38毫米*爆震弹
图片尺寸500x500
爆震弹
图片尺寸220x165
爆震弹
图片尺寸98x250
张飞怒吼长坂坡成真揭秘靠声音震慑敌人的非致命武器震爆弹
图片尺寸721x578
震撼弹
图片尺寸196x196
投掷爆震弹
图片尺寸3000x2000
安全型多响爆震弹
图片尺寸648x1000
中国军队有现役的闪光弹和烟雾弹吗?
图片尺寸391x429
刺激战场战神局:战神之间有暗语,手雷是冲锋,爆震弹亮了
图片尺寸554x451
吃鸡玩的溜可到了战场你会用这些弹药吗
图片尺寸640x360
只见我方舰队集体出动,特战队员只待一声令下,各型信号弹,爆震弹齐射
图片尺寸700x466
图为山头上的爆震弹和烟雾弹喷射出的浓烟
图片尺寸628x328
哈瓦特种装备无人机 警用无人机投放催泪弹,爆震弹,让嫌疑人失去抵抗
图片尺寸800x533