爬架防坠器图解

安全防坠器静负荷测试必不可少,消除危险因素防患于未然
图片尺寸883x555
厂家直销速差器防坠器高空防坠器40米钢丝绳速差器
图片尺寸492x929
防坠器
图片尺寸690x350
厂家直销 3-50m速差式高空自控器人体防坠器 正品质保
图片尺寸690x930
爬架防坠装置的制作方法
图片尺寸391x646
厂家直销钢丝防坠器 速差器 3-30米图片_11
图片尺寸700x530
【供应】批发江苏 防坠器 速差防坠器 高空坠落防护 凌峰起重
图片尺寸750x867
供应台湾鑫辉 haru防坠器 hb-2n高空速差自控防坠器自锁器 包邮
图片尺寸790x551
代尔塔505115钢壳速差自动收缩式防坠制动器20米 劳保用具
图片尺寸790x742
设计出一种完全取消齿轮机构且不增加结构复杂性的井字架吊篮自动防坠
图片尺寸500x519
施工升降机saj40防坠安全器
图片尺寸750x750
2018年建设从业人员安全培训之脚手架,模板支架工程
图片尺寸950x622
防坠安全器现场试验法制动距离的测定
图片尺寸700x899
防坠安全器动作步骤图
图片尺寸640x514
搞不懂"爬架"是什么?本文让你一次看个明白!
图片尺寸600x600
一种铝合金爬架的防坠机构-爱企查
图片尺寸260x253
全面介绍爬架设计,安装及拆除工艺,图文并茂版,请收藏备用
图片尺寸938x644
高空防坠器3-60m防坠落装置速差人体防坠钢丝绳自锁器
图片尺寸697x638
进口防坠器kp25型防坠器钢丝绳25m日本tkk牌
图片尺寸712x429
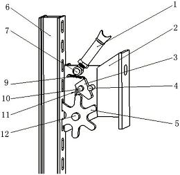
图11:凸轮式防坠器构造某建筑公司开发的"爬架防坠器"采用楔块套管
图片尺寸640x474