牙膏牙刷一体设计草图

一种带储膏腔的牙刷制造技术
图片尺寸706x1000
牙刷牙膏一体设计设计与排版
图片尺寸1280x905
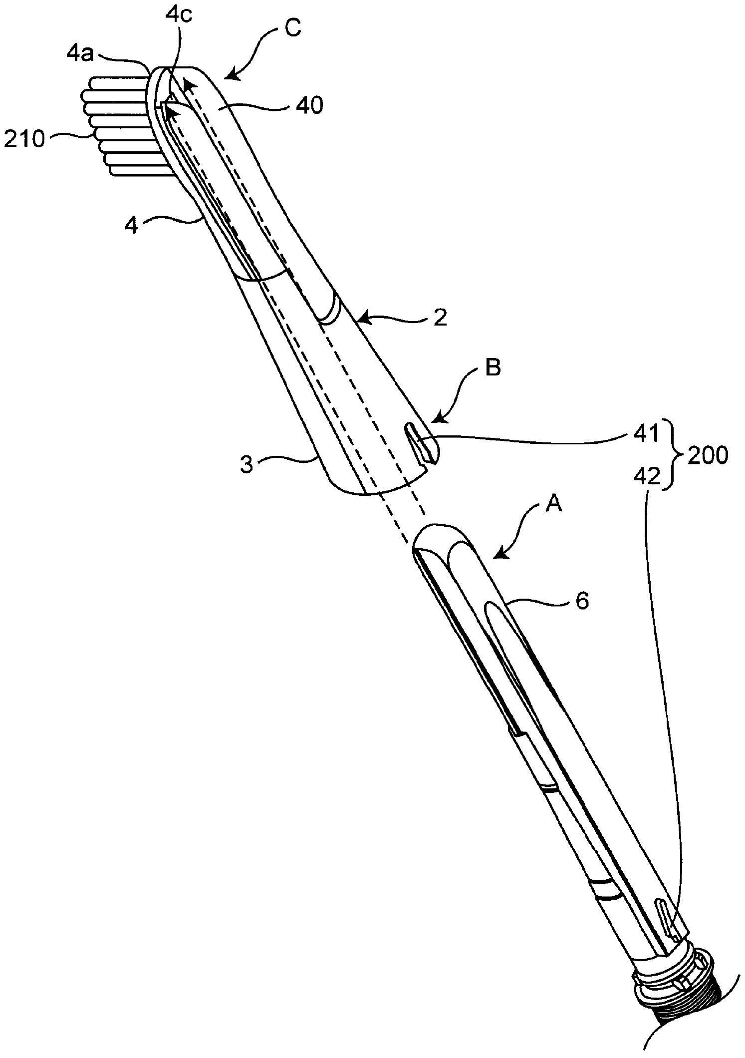
cn213096732u_牙膏牙刷一体化刷牙工具
图片尺寸1742x1567
牙刷牙膏一体设计设计与排版
图片尺寸1280x905
一种牙刷加牙膏的一体牙刷的制作方法
图片尺寸1000x995
自带牙膏的一体式牙刷的制作方法与工艺
图片尺寸1000x761
牙刷设计草图
图片尺寸3509x2481
牙刷设计草图
图片尺寸3509x2481
一种新型可定量挤出牙膏的牙刷
图片尺寸1641x1063
牙刷设计草图
图片尺寸2362x1200
牙刷设计草图
图片尺寸1600x1200
一种方便挤牙膏的牙刷的制作方法
图片尺寸1000x863
矢量,式样,牙膏,草图,牙刷
图片尺寸1100x1100
牙膏和电动牙刷的草图
图片尺寸933x1200
组合式带有牙膏的牙刷的制作方法
图片尺寸1000x923
cn109069247b_牙刷
图片尺寸1493x2119
一种具有牙膏挤出功能的一体式牙刷的制作方法
图片尺寸555x301
吐出牙膏的牙刷制造技术
图片尺寸1000x687
牙刷图标上的牙膏概述在牙刷在白色背景网络设计的传染媒介象的牙膏
图片尺寸1024x1024
牙膏一体式牙刷
图片尺寸799x790