现浇端横梁示意图

7m宽挑檐;梁端及跨内设置现浇端横梁,中横梁,均采用c50补偿收缩混凝土
图片尺寸760x569
端横梁钢筋构造
图片尺寸560x404
现浇箱梁大桥端横梁钢筋构造节点大样图
图片尺寸560x378
现浇挂蓝施工横梁结构图
图片尺寸1183x722
某30m预应力小箱梁现浇中横梁钢筋节点构造详图
图片尺寸760x557
横隔梁是怎么看的啊?
图片尺寸575x553
端横梁钢筋构造图
图片尺寸820x543
某现浇中横梁钢筋节点构造详图
图片尺寸970x683
某端横梁钢筋节点构造详图
图片尺寸972x684
现浇端横梁施工工艺框图
图片尺寸593x457
框架梁布筋示意图四,现浇楼板厚度与布筋楼板厚度一般应做到10cm
图片尺寸750x593
小技巧—梁工程完整计算书及规范
图片尺寸611x320
45m现浇预应力混凝土简支箱梁端横梁钢筋构造节点详图设计
图片尺寸560x409![[分享]端横梁资料免费下载](https://imgs.wantubizhi.com/img/735A5D1F980B52A636CC46F12F2D1A73C7009F5DDADCE6AF2EA36B845B278FFE7F6904AD960A3E6CACF65B749754D40A3E48CF1B7751826109FB6BE616B93930594501830BEA4FC3B891F8D025AA84402C6D90FF811FC723BA96FCFF74F17F16)
[分享]端横梁资料免费下载
图片尺寸560x410
端横梁钢筋构造cad图纸
图片尺寸850x615
12 箱梁端横梁钢筋布置图.dwg
图片尺寸800x800
现浇箱梁大桥端横梁钢筋构造节点大样图
图片尺寸610x861
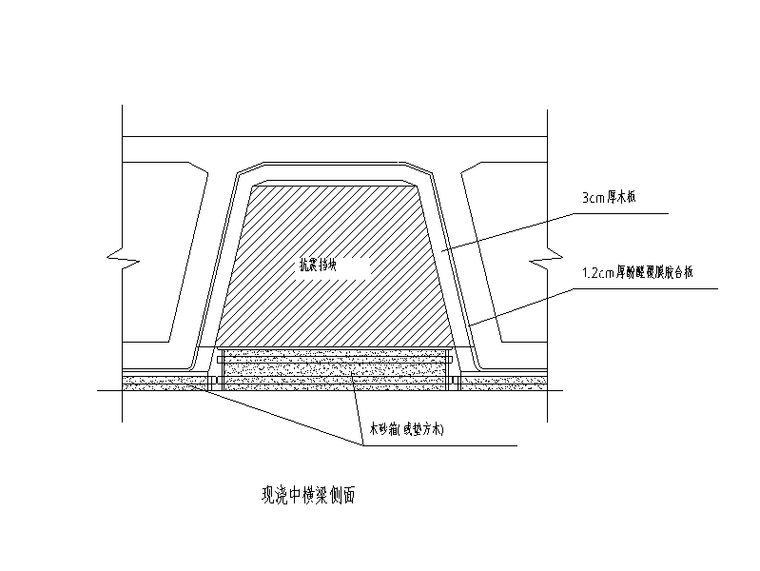
现浇中横梁侧面
图片尺寸760x571
端横梁钢筋构造图
图片尺寸682x579
现浇箱梁大桥端横梁钢筋构造节点大样图
图片尺寸610x861