玻璃棒简笔画图片

玻璃棒简笔画
图片尺寸360x600
玻璃棒器材简笔画
图片尺寸260x353
玻璃棒的三个作用是什么
图片尺寸500x642
知道
图片尺寸623x842
小明参观某盐场,带回来一些盐田中盐堆旁的水样进行研究.
图片尺寸498x370
2015高考化学考点突破训练:10-2物质的分离和提纯
图片尺寸519x654
博士帽图片简笔画设计
图片尺寸500x622
一种化学实验用玻璃棒制造技术
图片尺寸735x1000
一种玻璃棒放置盒-爱企查
图片尺寸762x800
初中物理十五章节经典练习题答案
图片尺寸261x355
河北专版2017届中考物理总复习第一编教材知识梳理第
图片尺寸672x413
背景技术:目前市场上的药物残留检测多用玻璃棒,依靠设于玻璃棒外侧的
图片尺寸502x1000
背景技术:玻璃棒属于常用试验仪器,其结构简单,体积小,主要用于生物
图片尺寸1000x883
(2)过滤时,烧杯①的口应靠在__玻璃棒上__,液面要__低于__ 滤纸的
图片尺寸554x709
中考化学热点专题训练专题1常见仪器及基本实验操作
图片尺寸238x206
回答下列问题: (1)实验中除了托盘天平(带砝码),药匙,量筒和玻璃棒外
图片尺寸426x840
(部编本人教版)最新年中考化学总复习 教材考点梳理
图片尺寸316x499
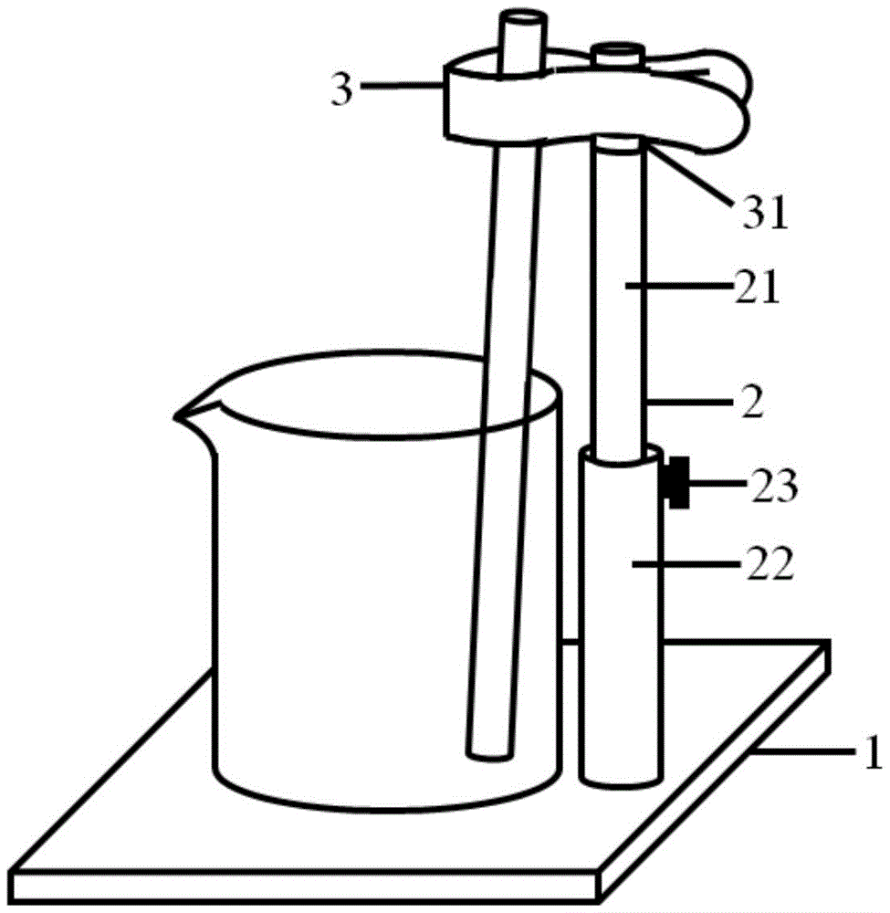
cn211964241u_一种玻璃棒搁置架有效
图片尺寸975x1000
题目详情
图片尺寸496x133
如图所示1进行的是操作其中玻璃棒的作用是
图片尺寸290x356