瓶胚模具结构图

一种吊环一体输液瓶的瓶胚模具
图片尺寸1638x1717
一种设有瓶口槽的瓶胚模具结构-爱企查
图片尺寸1866x712
模具结构图
图片尺寸736x1075
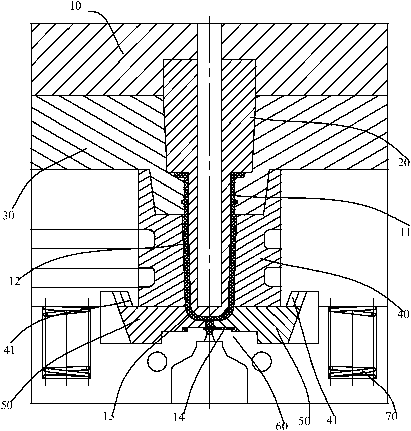
pet瓶胚模具型腔分体装配式冷却水路结构的制作方法
图片尺寸1000x912
cn106926417a_瓶胚注塑模具的分体式模芯结构,瓶坯注塑模具及注模系统
图片尺寸1532x1259
pet瓶胚模具设计
图片尺寸820x737
28口pet瓶胚模具用dkm250t注塑机最大能做多少腔
图片尺寸789x544
模型库 模具图纸 注塑模图纸 瓶胚瓶盖模具 上传图纸补贴活动 免费
图片尺寸661x524
瓶胚是由注塑加工在特定温度和压强下将原料填充到模具的腔模内,在
图片尺寸286x443
玻璃瓶厂家模具制作视频分享
图片尺寸633x429
瓶胚拉推板顶出拨块拨行位
图片尺寸623x627
厂家一出十四广口瓶胚模具 管坯瓶坯模具 管胚模具专业设计制造
图片尺寸1920x1440
一模48穴瓶胚模具设计重点注意模具加工精度设计师收藏学习
图片尺寸1728x1080
12腔广口瓶胚模具定制 多腔塑料瓶胚模具加工 热流道管坯模具
图片尺寸790x1176
公司主营:兰州塑料油瓶批发,兰州瓶胚厂家,甘肃吹瓶模具公司地址:甘肃
图片尺寸780x597
塑胶瓶胚模具批发公司
图片尺寸665x521
模具图纸 注塑模图纸 瓶胚瓶盖模具
图片尺寸692x666
pet塑料瓶胚模具 48腔水瓶碳酸饮料瓶瓶胚模具 瓶胚注塑模具
图片尺寸1067x800
72腔日化矿泉水瓶瓶胚热流道瓶胚模具
图片尺寸750x750
瓶胚模具,二手瓶胚模具,pet瓶胚加工,塑料模具
图片尺寸1037x648