生产线流水线简笔画

牛奶制作矢量生产线(2742x2300)epspng黑色线条简笔画牛油果矢量(1500
图片尺寸430x360
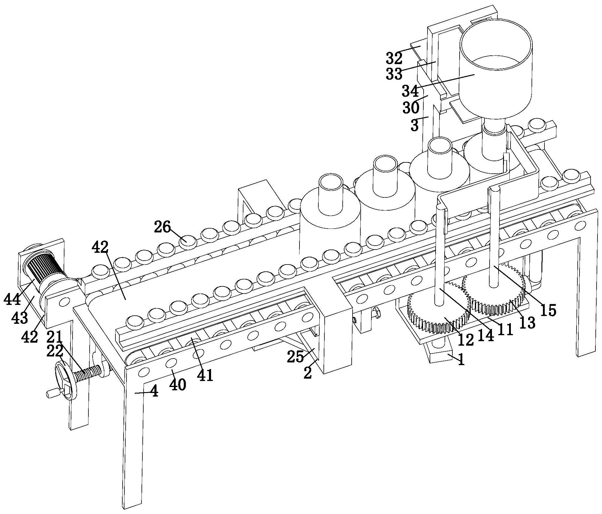
cn110371389a_一种储液干燥器柔性输送灌装生产线在审
图片尺寸1000x948
一种自动化无人收银流水线
图片尺寸1624x1275
线条_风格_流水线_自动_制作_传送装置_机器人_产业_概念_矢量_插画
图片尺寸794x492
一张"网"强力助攻一条"链"_工业_青山_生产线
图片尺寸640x425
流水生产线简笔画
图片尺寸448x336
速食粥米生产线
图片尺寸3889x2273
一种铰链组装流水线-爱企查
图片尺寸1909x1530
带捏切装置的面包生产线-爱企查
图片尺寸1950x1495
一种自动流水线-爱企查
图片尺寸1942x1286
低水份组织蛋白生产线
图片尺寸3497x2801
一种生产线的制作方法
图片尺寸1000x859
106 论"流水线"的重要性
图片尺寸430x430
cn107571030a_一种多工位钻孔冲孔流水线失效
图片尺寸1799x1151
一种洁净分拣的果蔬清洗流水线的制作方法
图片尺寸966x1000
高水组织蛋白生产线
图片尺寸4678x3309
cn112793091a_一种马桶盖板座圈刨边组装生产线
图片尺寸2344x1779
一种纸盒成型生产线
图片尺寸2664x1843
一种药瓶自动化罐装流水线
图片尺寸2008x1716
流水生产线简笔画
图片尺寸500x640