电加热蒸汽发生器图解

电热蒸汽发生器
图片尺寸558x430
电加热蒸汽发生器
图片尺寸2176x2476
jx-qr36系列电加热蒸汽发生器
图片尺寸790x1734
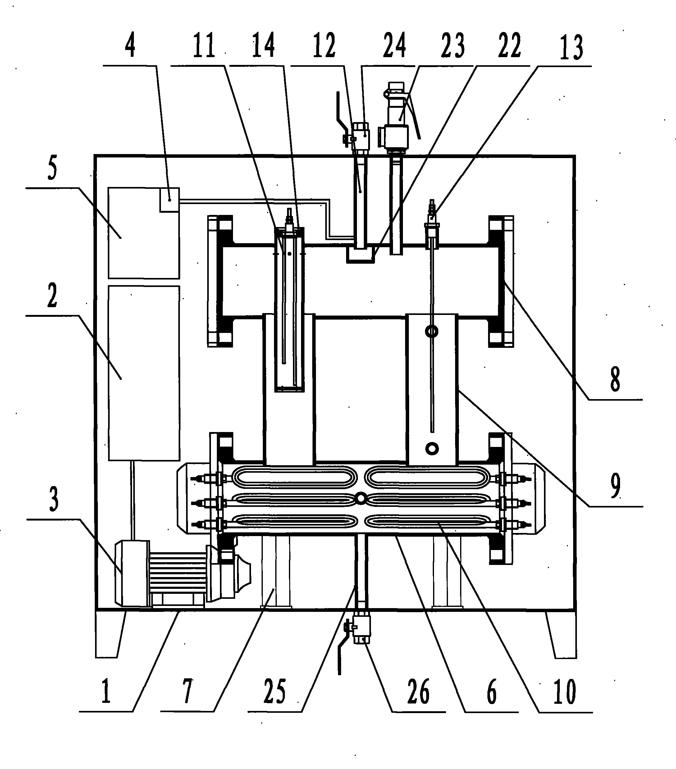
一种电加热蒸汽发生器
图片尺寸1825x2749
循环水电加热蒸汽发生器
图片尺寸1862x2980
钰凯现货供应50kw电磁式蒸汽加热器 耐151℃蒸汽发生器_供应产品_盐城
图片尺寸912x771
电加热蒸汽发生器
图片尺寸1679x1749
蒸汽发生器燃气的和电加热的哪种效率高
图片尺寸726x400
熔盐换热器,熔盐蒸汽发生器,熔盐加热器,烟气熔盐换热器
图片尺寸800x409
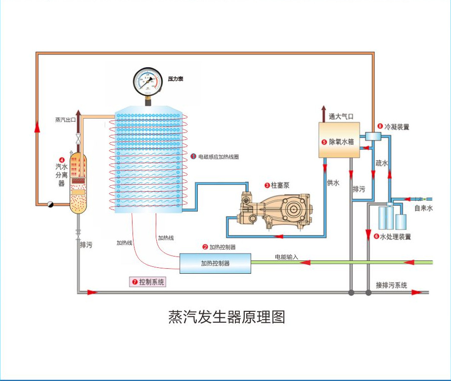
电磁加热蒸汽发生器
图片尺寸1693x1879
纯蒸汽发生器原理
图片尺寸920x1303
干货|导热油蒸汽发生器的构造及工作原理_液体_过程_控制系统
图片尺寸900x383
电加热蒸汽发生器厂家直销小型免检高压电热蒸汽锅炉
图片尺寸848x696
蒸汽发生器
图片尺寸993x1000
一种可除垢的电加热蒸汽发生器的制作方法
图片尺寸1000x555
购买蒸汽发生器时需要注意什么
图片尺寸660x997
厂家直销ldr电蒸汽发生器电蒸汽锅炉电加热蒸汽机免检快装全自动
图片尺寸750x1109
工厂直销餐饮快速高温蒸煮蒸汽设备免检小型电蒸汽发生器全自动
图片尺寸800x587
电热蒸汽发生器,箱体主要是蒸汽生产的主题设备,箱体内的水经过加热管
图片尺寸1632x1527
蒸汽发生器
图片尺寸600x709