电尾门撑杆内部拆解图

汽车尾门的电动撑杆-爱企查
图片尺寸1558x1908
适用于吉利嘉际 汽车l/r尾门尾盖电动撑杆5062022600-阿里巴巴
图片尺寸1000x1000
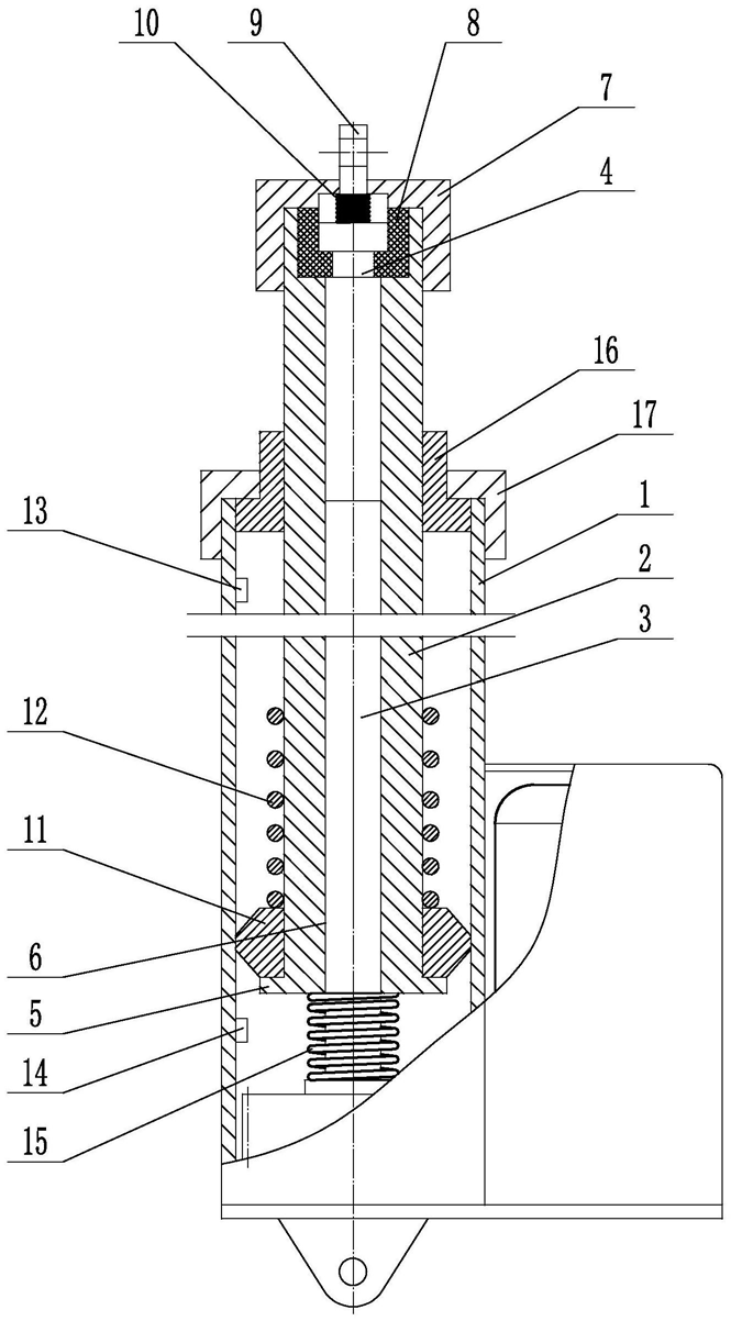
一种汽车尾门电动推杆
图片尺寸665x1202
如何去选择一个好的电动尾门?看这两点就够了
图片尺寸640x461
原车尾门撑杆器
图片尺寸640x480
如何去选择一个好的电动尾门?看这两点就够了
图片尺寸640x447
海狮hiace200丰田20052018电动尾门撑杆大海电吸其他
图片尺寸1920x1080
【贵州博越车友会】以车会友系列-帮车友更换电动尾门撑杆.
图片尺寸700x467
适用1721款大众途观电动尾门撑杆后备箱电专用电动尾门
图片尺寸800x800
一种汽车后背门电动撑杆结构-爱企查
图片尺寸1850x1110
热销智能汽车电动尾门 双杆带电吸后备箱一脚踢防夹自动尾门改装
图片尺寸750x1188
改装实例:昂科威加装静音智能双杆电动尾门
图片尺寸640x480
安装电动撑杆 在尾门撑杆支架原位置安装ghac电尾支架再把电动撑杆
图片尺寸400x300
cn106697071a_一种汽车尾门电动撑杆结构失效
图片尺寸1261x1074
最实用配置必需有|湖南长沙沃尔沃xc60升级双撑杆电动尾门
图片尺寸640x427
当然要换成电动尾门的撑杆,看看这差距,你就知道如果有两根撑杆那该多
图片尺寸700x444
【电动尾门】大众迈腾b7双杆安装说明图(适用11-16年款)
图片尺寸531x333
适配路虎发现神行极光揽胜行政运动版尾门撑杆电动撑杆后备箱顶杆
图片尺寸800x800
一种汽车电动尾门撑杆多角度安装结构的制作方法
图片尺寸1000x617
宝马全系电动尾门撑杆:不升,不降,不举都可以维修
图片尺寸1080x811