电梯门刀工作原理

cn104773638a_带轿门锁的异步门刀,电梯门机及轿门系统有效
图片尺寸1000x519
cn201309790y_电梯门刀装置有效
图片尺寸1312x1797
一种集成轿门锁的电梯同步门刀制造技术
图片尺寸452x632
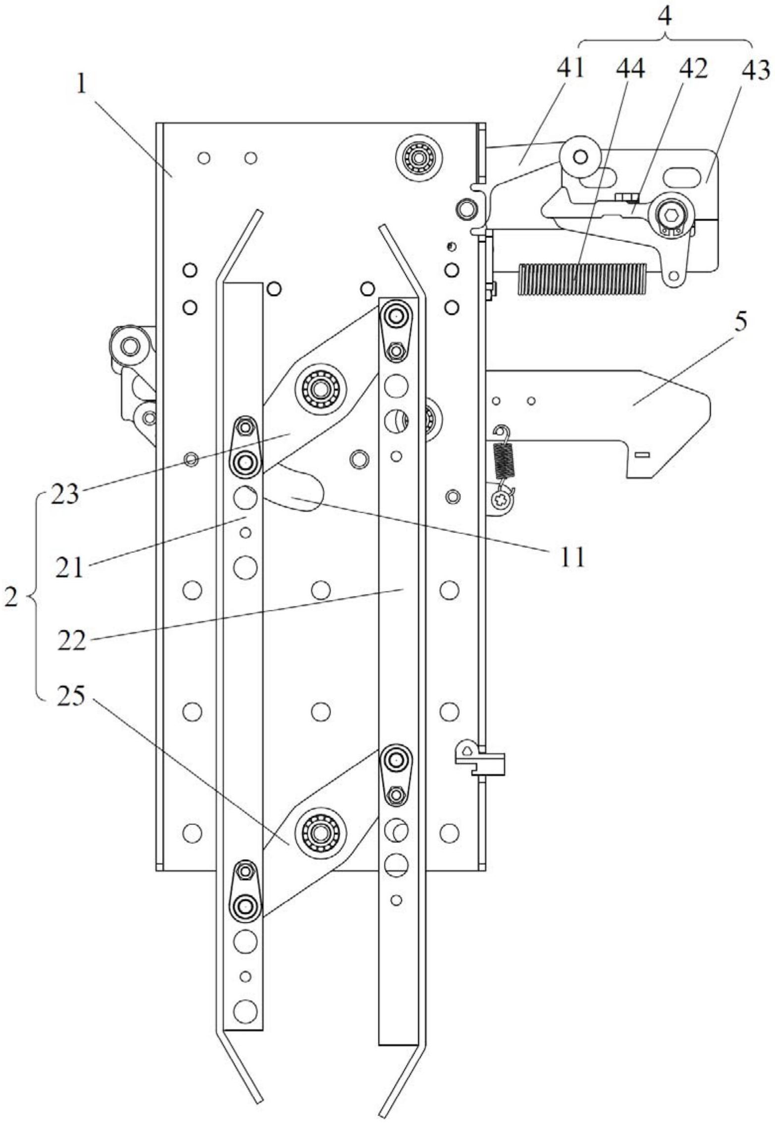
cn112978547a_电梯门刀控制系统及其方法
图片尺寸1743x2162
本实用新型涉及电梯领域,公开了一种外张式集成轿门锁同步门刀.
图片尺寸1564x2267
本实用新型涉及电梯层门开锁装置,尤其涉及一种带轿门锁的轿门门刀
图片尺寸357x562
一种电梯伸缩门刀的制作方法与工艺
图片尺寸562x1000
新型带轿门锁的电梯门刀装置的制作方法
图片尺寸443x443
一种电梯用同步门刀制造技术
图片尺寸571x1000
一种电梯轿门门刀及解锁装置
图片尺寸1112x604
蒂森克虏伯电梯tke门系统培训
图片尺寸960x720
本实用新型公开了一种电梯轿门开关门装置,其卡合装置包括第一门刀,第
图片尺寸1544x1782
一种电梯轿门门刀及解锁装置制造方法及图纸
图片尺寸1000x546
电梯轿门锁异步门刀组件的制作方法
图片尺寸631x1000
一种电梯轿门的异步门刀结构
图片尺寸955x1000
电梯门系统及其带开门限制装置的门刀的制作方法
图片尺寸1000x542
118f电梯门刀
图片尺寸500x529
一种电梯门机的门锁门刀组件耐久测试机
图片尺寸432x485
一种集成轿门锁的同步门刀装置制造方法及图纸,电梯轿门锁专利_技高网
图片尺寸802x1000
一种新型一体式电梯门刀结构的制作方法
图片尺寸848x1000