电渗流

电渗流
图片尺寸991x526
电渗流
图片尺寸501x262
电渗析ppt
图片尺寸1080x810
电渗流现象 当固体与液体接触时,固体表面由于某种原因带一种电 荷,则
图片尺寸1080x810
电渗流
图片尺寸854x520
2电渗现象与电渗流 ce所用的石英毛细管柱, 在ph>3时,石英毛细管 壁上
图片尺寸1080x810
电渗析
图片尺寸480x446
基于改进型泊松-玻尔兹曼方程的电渗流建模与分析
图片尺寸700x1168
日本东北大学自然通讯多孔微针水凝胶阵列贴剂产生的透皮电渗流
图片尺寸1106x910
p>电渗(electroosmosis)是 a href="#">电动 /a>现象之一.
图片尺寸1018x758
毛细管电泳电渗流的形成及阳离子运动方向图
图片尺寸562x227
电渗流过程示意
图片尺寸673x405
jacs低电解液浓度中的电渗流现象
图片尺寸500x299
污水处理之电渗析法详解
图片尺寸515x352
pacemdq型毛细管电泳在相关领域的应用图
图片尺寸354x302
色谱 毛细管电泳(ce) 高效液相色谱适合分离沸点高的大分子物质,各
图片尺寸644x406
废水处理之电渗析法处理废水详解
图片尺寸640x387
回顾专业节百花争艳欲辨忘言
图片尺寸1080x712
日本东北大学自然通讯多孔微针水凝胶阵列贴剂产生的透皮电渗流
图片尺寸1106x930
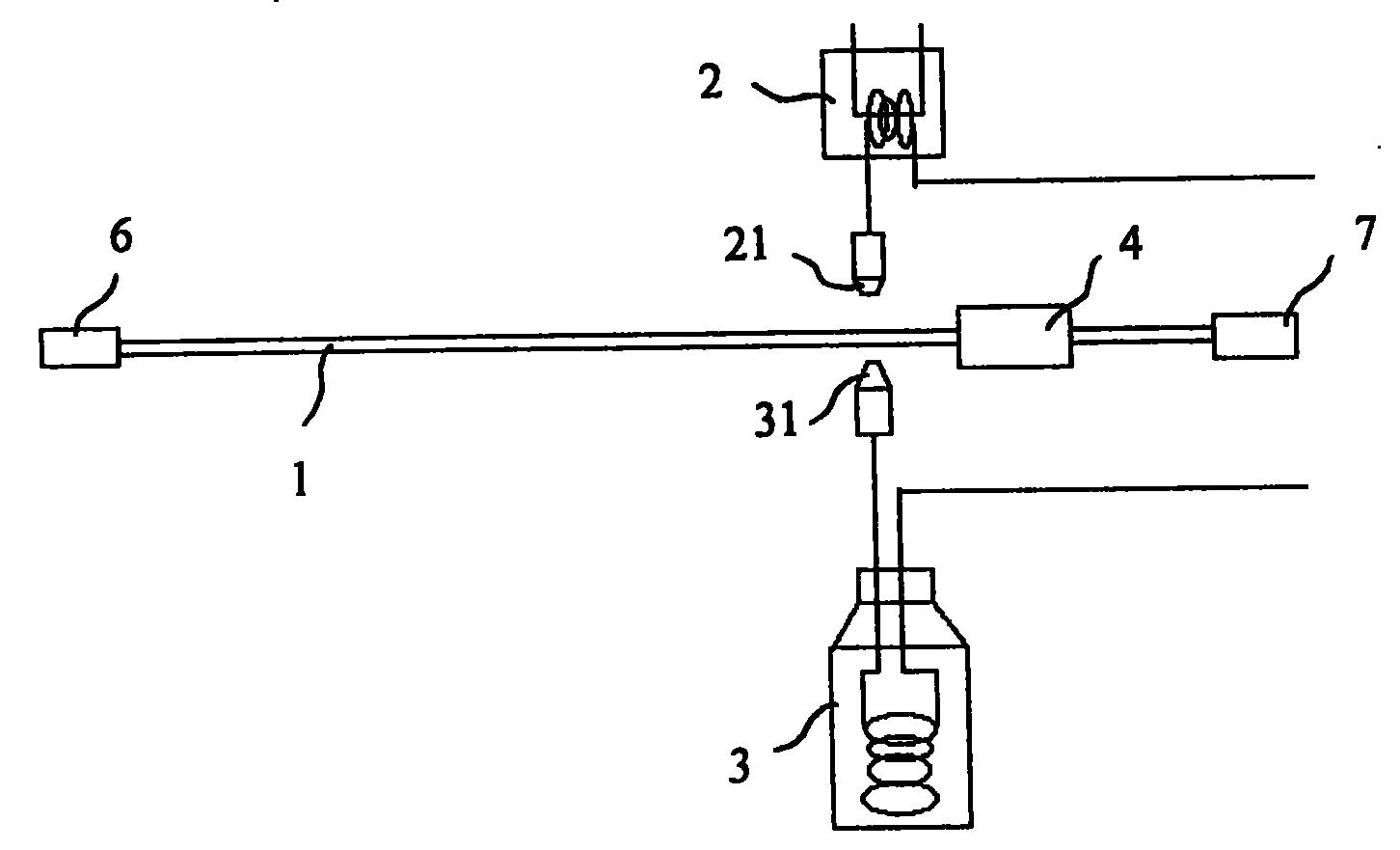
一种毛细管等电聚焦电泳中控制电渗流的方法及其装置-爱企查
图片尺寸1452x881