电热毯怎么画
 - 1,不要彻夜使用电热毯!即便是合格的产品,也非常容易引起火灾和漏电.图片尺寸942x708
 - 卡通手绘取暖电热毯元素图片尺寸288x407
 - 红外线保健电热毯-爱企查图片尺寸1443x1680
 - 电热毯图片-电热毯素材-电热毯插画-摄图新视界图片尺寸300x300
 - 时尚现代平面线性矢量电热毯图标在白色背景上从细线电子设备收集, 可图片尺寸300x300
 - 卡通手绘冬天的电热毯元素图片尺寸780x780
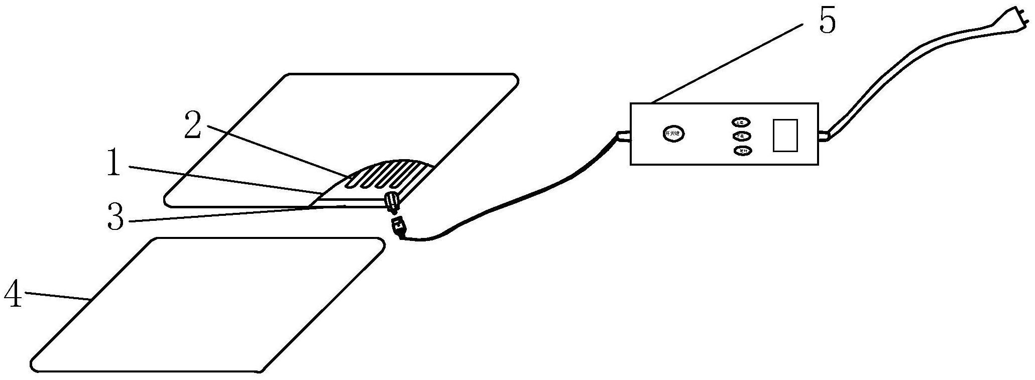
 - 一种新型一次性恒温电热毯的制作方法图片尺寸813x574
 - 一种即热式碳纤维电热毯图片尺寸1474x1066
 - 一种碳纤维电热毯-爱企查图片尺寸1339x718
 - cn2787092y_恒温电热毯失效图片尺寸1316x1417
 - 双温感电热毯-爱企查图片尺寸2061x757
 - 毛毯纤维图片-毛毯纤维素材-毛毯纤维插画-摄图新视界图片尺寸300x300
 - 卷曲的地毯简笔画 卷曲的地毯的简笔画图片尺寸1920x1080
 - 电热毯图片尺寸485x323
 - 包包简笔画的画法步骤教程及图片大全图片尺寸450x300
 - 天气转冷,电热毯上岗,这些注意事项你知道吗?图片尺寸437x295
 - 家用地毯简笔画图片尺寸900x600
 - 宠物电热毯的制作方法图片尺寸1000x944
 - 毛巾的绘图图片-毛巾的绘图素材-毛巾的绘图插画-摄图新视界图片尺寸395x300
 - 电热毯图标轮廓样式图片尺寸1200x1008