电磁阀线圈结构

parker-hannifin电磁阀 zb14-ve130br 14w 220-230/50-60hz ip65
图片尺寸790x500
丹佛斯电磁阀线圈 交流 24v/50hz 018f6707 氟利昂中央空调冻库
图片尺寸760x746
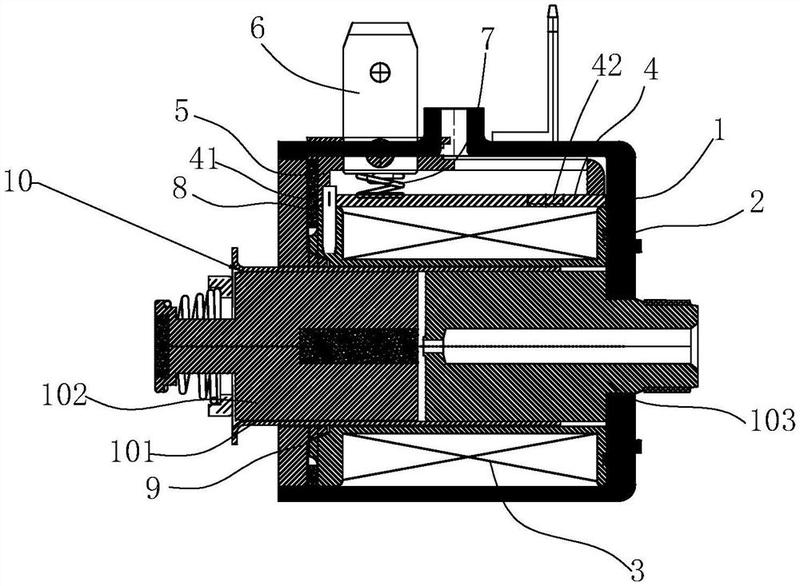
cn1293333c_电磁阀用筒形线圈失效
图片尺寸1288x2164
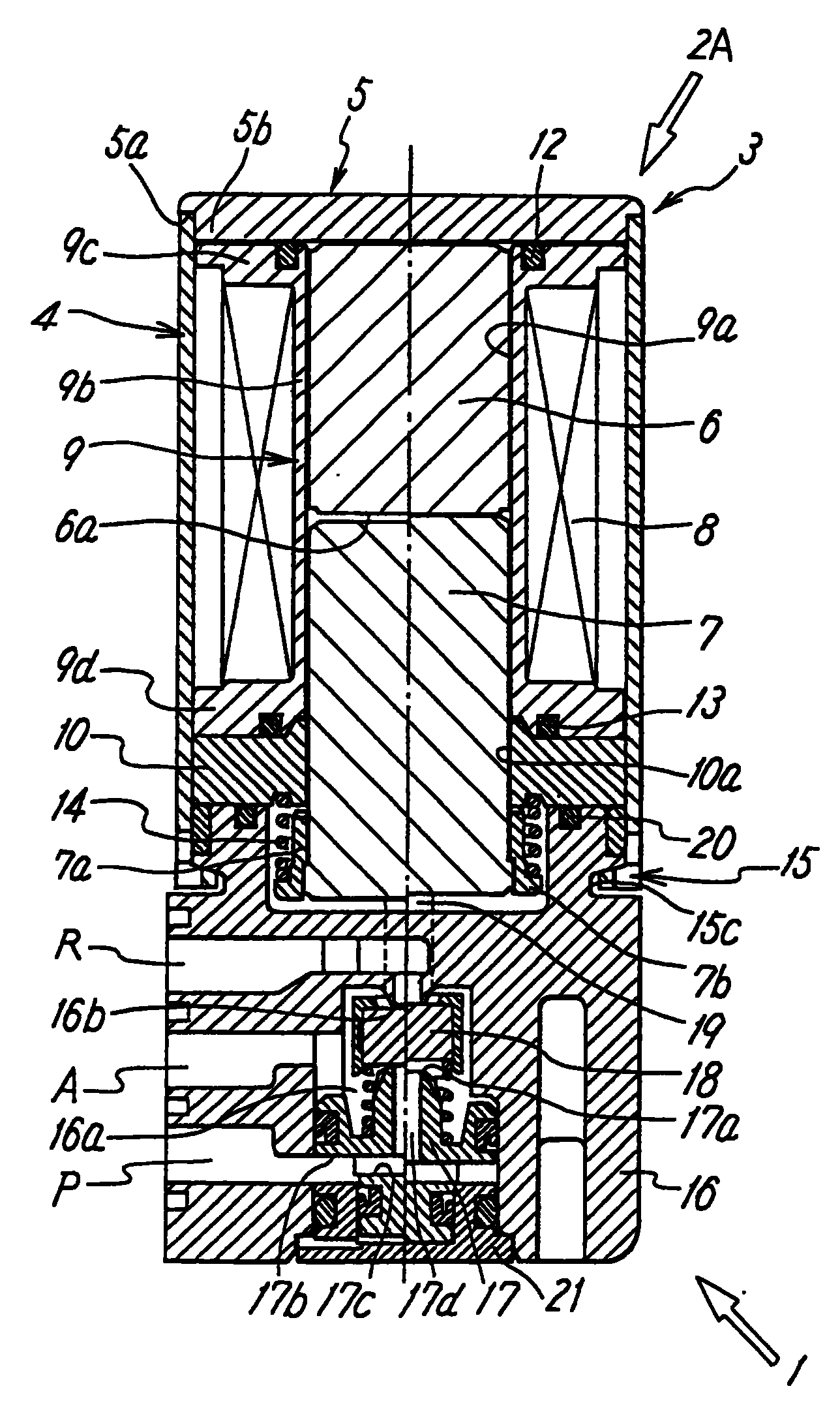
cn105895292b_一种电磁阀线圈有效
图片尺寸1000x703
单线圈二位三通电磁阀结构特点
图片尺寸640x640
双线圈电磁阀工作原理双线圈电磁阀结构图
图片尺寸800x392
电磁阀典型结构
图片尺寸450x265
二位二通水处理电磁阀直拉膜片结构零压启动塑封线圈电磁阀2w21
图片尺寸1492x1659
磁锁式电磁阀的基本原理及结构特点
图片尺寸583x549
df水液电磁阀zcs空气电磁阀
图片尺寸432x385
分布直动式电磁阀的结构和特点
图片尺寸539x508
结构及拆装流程 opc电磁阀主要有一级阀和二级阀两部分组成,带线圈
图片尺寸1122x906
电磁阀的主要特点
图片尺寸602x363
湖北杭荣电气两位五通气动电磁阀使用防爆电磁阀线圈
图片尺寸800x540
电磁阀结构原理
图片尺寸586x534
电磁阀工作原理
图片尺寸660x571
在电气上来说,两位三通电磁阀一般为单电控(即单线圈),两位五通电磁阀
图片尺寸828x309
一种供先导头配合的电磁阀线圈座-爱企查
图片尺寸800x586
电磁阀原理图解
图片尺寸920x1302
电磁阀内部结构图
图片尺寸605x579