电缆分支箱原理图

一进二出电缆分支箱(11典设)-model
图片尺寸1188x918
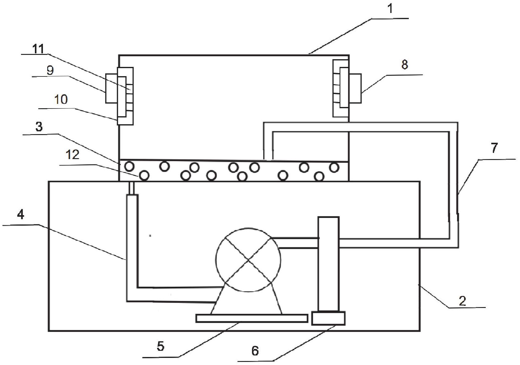
一种带有远程操作功能的智能电缆分支箱的制作方法
图片尺寸403x443
一进三出电缆分支箱
图片尺寸1504x738
hxgn1512户外高压电缆分支箱一进三出带开关
图片尺寸608x435
一种智能低压电缆分支箱及其运行方法和智能配电台区
图片尺寸842x894
厂家直销户外高压电缆分支箱10kv,二进
图片尺寸600x552
低压电缆分支箱(1进4出)
图片尺寸1916x2558
一种多功能电缆分支箱-爱企查
图片尺寸1684x1184
背景技术:电缆分接箱是一种用来对电缆线路实施分接,分支,接续及转换
图片尺寸554x503
户外电缆分支箱系列
图片尺寸835x408
连接线包括主进线电缆,主进线分支电缆,负荷侧出线电缆和绝
图片尺寸554x503
cn107359571a_一种电缆分支箱失效
图片尺寸682x937
10405kv户外电缆分支箱系列
图片尺寸532x738
分享高压电缆分支箱图纸资料下载
图片尺寸760x447
一种带开关电缆分支箱的制作方法
图片尺寸443x384![[分享]落地式电缆分支箱资料下载](https://imgs.wantubizhi.com/img/735A5D1F980B52A636CC46F12F2D1A7342AA4117B46011AA2DF08A02195C8CBEA13E6277C411E4AA6445CB4A041428DD596AFFADA10993E8482A3E925D2F1B35DFC92174A713AEF4D3D0F504E35B4F1AEFBB2923E1EABAA86C02B9FFDB85E24B)
[分享]落地式电缆分支箱资料下载
图片尺寸760x574
10kv电缆分支箱一次方案图
图片尺寸2339x1654
电缆分支箱接地线装置
图片尺寸693x527
一种具有防雨水渗透的电缆分支箱的制作方法
图片尺寸444x397![[分享]电缆分支箱cad资料免费下载](https://imgs.wantubizhi.com/img/A1A61BAA66193547F3A6DD7D8EE527E96A8FFCA426792DEE888E6204585B8311A073A8BDC463210DE1F6827631FE722899089A4CAFB554C6C7A83E35820C3A50AD9A090EF3220D38B26C09866C82EB025F93FF2807CE5B10638810E5674730EB)
[分享]电缆分支箱cad资料免费下载
图片尺寸1251x795