百川股份

5月1日百川股份涨停分析:甲醇,磷酸铁锂,有色 · 镍概念热股
图片尺寸680x295
百川股份04月30日主力大幅流入
图片尺寸750x558
百川股份:2023年亏损4.66亿元
图片尺寸850x430
百川股份3日主力资金净流入1.
图片尺寸726x450
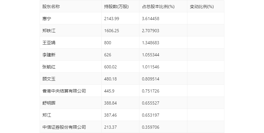
百川股份:2023年亏损4.66亿元
图片尺寸850x517
百川股份3日主力资金净流入1.
图片尺寸726x450
百川股份左手储能右手锂电池新能源新手们如何跨界赚钱
图片尺寸591x335
市政污水处理
图片尺寸1791x947
储能的后起之秀-百川股份
图片尺寸1065x598
bob(娱乐)体育官方网站-在线登录地址
图片尺寸2876x1913
公司介绍
图片尺寸2222x1100
百川股份4月15日行情及资金流向概况
图片尺寸1800x1054
单位详情
图片尺寸2836x1581
越跌越加赌一把说说百川20240408
图片尺寸912x419
4月12日百川股份002455资金流向如何
图片尺寸1800x800
411复盘分析百川股份西陇科学国芳集团
图片尺寸1079x1864
412复盘分析百川股份长白山国芳集团
图片尺寸1080x1294
百川股份0024554月11日主力资金净买入496534万元
图片尺寸680x245
甲醇概念盘中拉升百川股份涨停
图片尺寸750x564
公司介绍
图片尺寸1920x950