皮卡汀尼导轨锁紧原理

皮卡汀尼导轨
图片尺寸622x472
cn2897593y_导轨锁紧装置失效
图片尺寸800x448
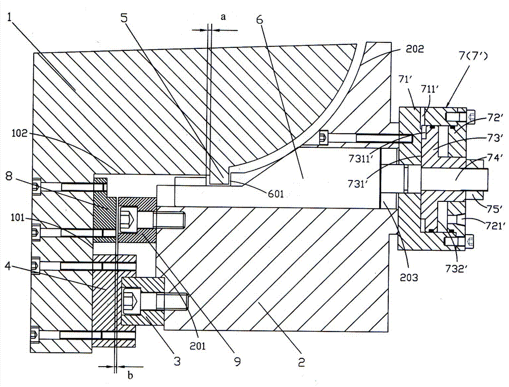
一种带保护的直线导轨锁紧装置
图片尺寸1000x759
流行全球的皮卡汀尼导轨看着好用拿起来却不舒服
图片尺寸1080x619
皮卡汀尼导轨的使用原理是什么?如何操作和固定附件? - 知乎
图片尺寸800x512
而是采用了带有m-lok接口和镂空设计的独立轻量化护手,皮卡汀尼导轨
图片尺寸1080x1364
请教大神,竖直导轨上的常闭式锁紧机构设计
图片尺寸763x810
吉姆·史卡茨_mm_步枪
图片尺寸1080x1080
cn211748154u_一种滑轨的外置式阻尼关闭锁紧机构
图片尺寸1420x1662
8 款战术杠杆步枪 ,你能从中找到谁的影子_瞄准器_皮卡汀尼导轨
图片尺寸1080x658
组成,上半部分前方两侧各设有3个长条形散热槽,并各设有一段短导轨
图片尺寸639x460
俄罗斯完成向安全部队交付特种部队枪支合同
图片尺寸631x442
2023年1月,卡拉什尼科夫集团展示了新的ak-12m1步枪.
图片尺寸1000x750
并可通过加装导轨片适配皮卡汀尼导轨(mil-std-1913)
图片尺寸999x863
能够解决枪支没有皮卡汀尼导轨的问题
图片尺寸660x363
骚透美国的三款 ar12 霰弹枪与我国全自动 ar 霰弹枪有何不同
图片尺寸716x545
评测:斯普林费尔德"恶棍"无托步枪 经实战检验的克
图片尺寸960x640
骚透美国的三款 ar12 霰弹枪与我国全自动 ar 霰弹枪有何不同
图片尺寸631x662
bcm公司推出全新概念a/t瞄准镜镜座 倾斜方式锁定皮卡汀尼导轨
图片尺寸640x427
今天一起说说-qsz92手枪转换套件的那些事儿
图片尺寸640x256