盘式绝缘子结构图

绝缘子
图片尺寸700x1609
xp-70盘形悬式瓷绝缘子 陶瓷绝缘子
图片尺寸990x472
一种盘型悬式复合绝缘子-爱企查
图片尺寸517x319
> 2013年中国绝缘子产品介绍(图)
图片尺寸444x299
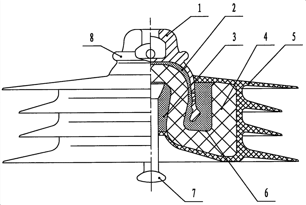
盘形悬式瓷绝缘子的制作方法
图片尺寸925x1000
一种复合盘型悬式绝缘子的制作方法
图片尺寸443x337
cn206249974u_盘形悬式玻璃绝缘子有效
图片尺寸1000x801
一种盘形悬式玻璃绝缘子制造技术
图片尺寸1000x831
一种贯连悬式盘形瓷绝缘子的制作方法
图片尺寸490x326
复合支柱绝缘子fzsw-252/10 220kv架空线路硅胶高压支柱绝缘子
图片尺寸750x2157
cn203573755u_一种改进结构的新型复合悬式盘形绝缘子有效
图片尺寸1000x671
盘形玻璃绝缘子制造技术
图片尺寸1000x801
表面异物对252kv气体绝缘组合电器盆式绝缘子绝缘性能的影响
图片尺寸592x537![选取几种线路中常见的绝缘子进行了研究[1],其具体结构如图1所示:目前](https://imgs.wantubizhi.com/img/735A5D1F980B52A636CC46F12F2D1A73CD23E081D0464D6CD390613926F5A8B07B8836CAB08A51FFA37FC22C80BCCE1377F4EA416D0BF2454AA5AA5FBCA5B16B68659180ED3BFEB4BBAB54277041031AFF8AA0346BD120EE5649ABE33CFAA542)
选取几种线路中常见的绝缘子进行了研究[1],其具体结构如图1所示:目前
图片尺寸455x597
一个是抗拉支撑,但原理是一样的,比如悬式绝缘子的结构如下图:高压
图片尺寸640x330
盘型悬式交直流瓷复合绝缘子的制作方法
图片尺寸878x653
fpq4-35/6t22,fpq4-10/5t20复合针式绝缘子
图片尺寸780x1030
伞型对盘型绝缘子积污与耐污性能的影响
图片尺寸517x640
民熔x-4.5c xp-4c xp-70 xwp-70悬式绝缘子 盘形陶瓷绝缘子
图片尺寸639x478
一种组合电器用盆式绝缘子的制作方法
图片尺寸560x527