盘式过滤机安装图

真空过滤机盘式-环保在线过滤设备在线
图片尺寸700x525
山东矿用圆盘盘式陶瓷真空过滤机设备生产厂家
图片尺寸650x309
盘式真空过滤机
图片尺寸620x689
盘式真空过滤机
图片尺寸700x335
盘式过滤滤机_安徽省凤阳县科瑞工业设备有限公司
图片尺寸558x383
zpg系列盘式真空过滤机
图片尺寸567x382
圆盘式真空过滤机
图片尺寸514x310
pd80a080平16盘陶瓷过滤机安装总图
图片尺寸751x606
盘式真空过滤机设备特点
图片尺寸2640x1808
gpg系列高负压盘式真空过滤机
图片尺寸1400x452
盘式过滤机
图片尺寸514x242
一种盘式陶瓷过滤机排液装置-爱企查
图片尺寸598x652
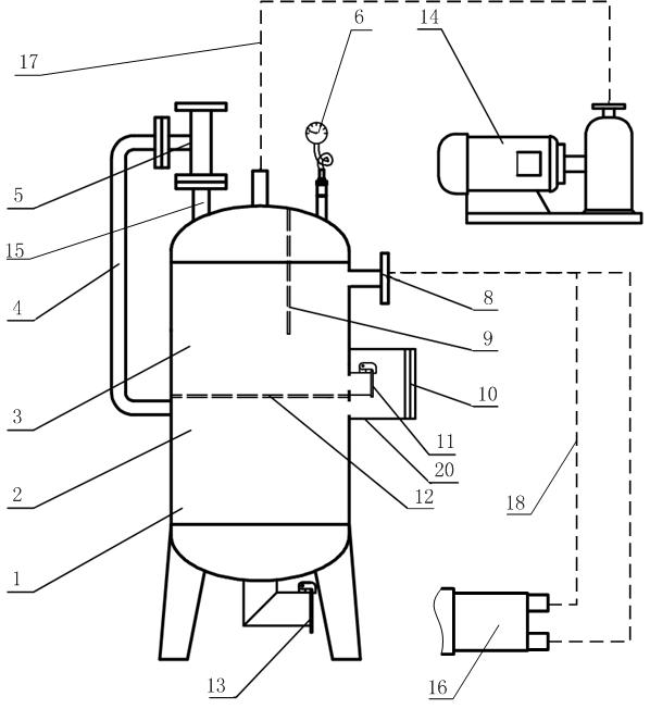
盘式过滤机滤液汽水分离装置
图片尺寸1000x689
供应盘式过滤机 无极变速 定制生产 优质产能 经久耐用
图片尺寸790x371
高服无需滤布振动卸渣硅藻土过滤机glj-2
图片尺寸2000x1747
盘式真空过滤机
图片尺寸600x295
bjpg4-5叠片盘式过滤器
图片尺寸472x304
叠式盘式过滤器设备
图片尺寸519x509
zpg-40盘式过滤机总图cad图纸
图片尺寸917x631
不锈钢盘式过滤器 叠片式过滤器 大流量污水处理器
图片尺寸950x760