直动从动件

直动尖顶从动件凸轮机构 教学用素材
图片尺寸448x252
推杆推杆作往复直线运动的凸轮(3)按从动件的运动形式分类3)平底推杆
图片尺寸366x250
直动滚子从动件平面凸轮机构运动仿真
图片尺寸448x252
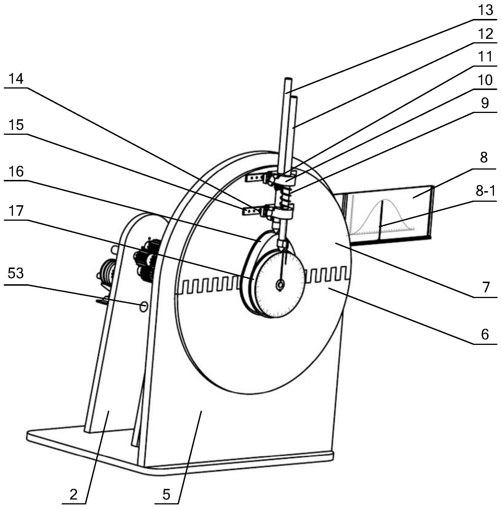
直动从动件凸轮-轮系组合教具-爱企查
图片尺寸1747x1771
直接驱动电机
图片尺寸1280x840
3, 按从动件的运动形式分 移动从动件 reciprocating follower 摆动从
图片尺寸1080x810
凸轮机构的分类 按凸轮的形状分: (一)按凸轮的形状分: (二)按从动件
图片尺寸1080x810
图8-25 直动从动件凸轮机构压力角.ppt 6页
图片尺寸1152x864
065-03 对心直动平底从动件盘形凸轮机构
图片尺寸650x650
偏置直动尖顶推杆盘形凸轮机构
图片尺寸556x602
已知凸轮轴直径为20mm,如何设计一个滚子对心直动从动件盘形凸轮机构?
图片尺寸854x640
二)按从动件上高副元素的几何形状分 1,尖顶从动件 , 2,滚子从动件
图片尺寸1080x810
对心式 凸轮回转中心和从动 件导路之间的距离 移动从动件 摆动从
图片尺寸1080x810
tu图8-3——9凸轮机构分类.ppt
图片尺寸1152x864
图示为一偏置直动滚子从动件盘形凸轮机构.
图片尺寸270x368
用作图法设计一对心尖顶直动从动件盘形凸轮机构(共2页)
图片尺寸920x651
凸轮机构(汽车机械基础教案)ppt
图片尺寸1080x810
凸轮机构工作过程及从动件运动规律 (1)ppt
图片尺寸1080x810
设计题目 如图所示直动从动件盘形凸轮机构,根据其原始参数设计该凸轮
图片尺寸436x451
在图示滚子直动从动件盘形凸轮机构中,q为从动件2所受载荷(包括其重量
图片尺寸781x596