睡袋图纸

腿睡袋裁剪图分享 配图仅供配色参考6015实际以图纸为准6015
图片尺寸960x1280
2016春夏新款儿童婴幼儿睡袋 宝宝纯棉
图片尺寸750x678
腿睡袋裁剪图分享 配图仅供配色参考6015实际以图纸为准6015
图片尺寸960x1280
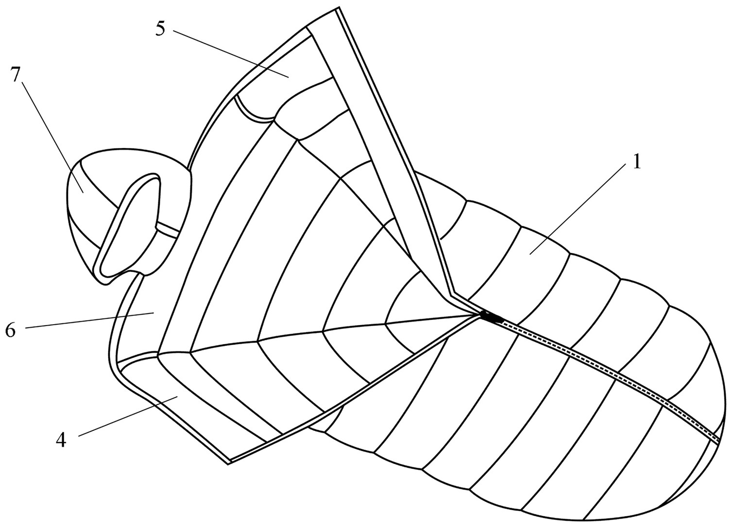
一种睡袋的制作方法
图片尺寸961x1000
艾洛迪(ilody) 婴儿睡袋宝宝儿童分腿睡袋春秋薄款四季通用秋冬加厚
图片尺寸790x1175
户外保暖专家——天石highrock鸭嘴兽系列睡袋
图片尺寸575x486
自制无袖分腿睡袋,珊瑚绒
图片尺寸460x690
迟到的分腿睡袋裁剪图
图片尺寸394x408
宝宝冬季保暖睡袋裁剪图纸
图片尺寸1200x1796
一种透气儿童睡袋的制作方法
图片尺寸895x1000
cn2269791y_多功能带枕儿童睡袋失效
图片尺寸800x1070
一种透气儿童睡袋
图片尺寸1366x1583
校园衍生产品纸袋
图片尺寸1280x905
韩国2015新款户外露野营春夏秋冬季单成人耐脏撞色带帽信封式睡袋
图片尺寸751x521
睡袋
图片尺寸1200x1121
可爱天使分腿式睡袋(蓝) 33*70cm
图片尺寸750x1558
一种便携式感统安抚压力睡袋的制作方法
图片尺寸844x661
cn106963202a_一种可插接组合的多功能睡袋及组合睡袋有效
图片尺寸1507x1086
3-4岁宝宝分腿睡袋,竖开裆更加方便,做法也更加简单
图片尺寸473x545
带纸样分享||一看就会做的宝宝冬日睡袋
图片尺寸600x859