石棉网加热装置图

在烧杯中放一些碘,然后用玻璃板盖住烧杯,放在石棉网上加热,碘吸热后
图片尺寸199x172
热网加热器
图片尺寸1100x1524
如图所示是几种常见的加热装置.
图片尺寸526x313
接液管,三角瓶,酒精灯,500ml烧杯,三角架,铁圈,铁夹,温度计,石棉网
图片尺寸945x611
(2)注意事项:①蒸发皿可放在三脚架上直接加热,也可用石棉网,水浴,沙
图片尺寸715x578
烧瓶如何垫上石棉网加热?
图片尺寸450x286
蒸发皿要不要加石棉网
图片尺寸800x320
小明在实验室做观察水的沸腾实验烧杯下面垫有石棉网如图所示下列说法
图片尺寸700x1090
2沸腾,观察水温计示数;1给水加热,观察水底冒起的小气泡 ;液态变气态
图片尺寸625x833
高中化学人教版选修2-第2单元-课题3-石油,煤和天然气的综合利用-学案
图片尺寸1606x809
可以放在三脚架上直接用酒精灯加热,也可以下面垫着石棉网加热
图片尺寸270x409
蒸发皿加热需要垫石棉网吗
图片尺寸500x435
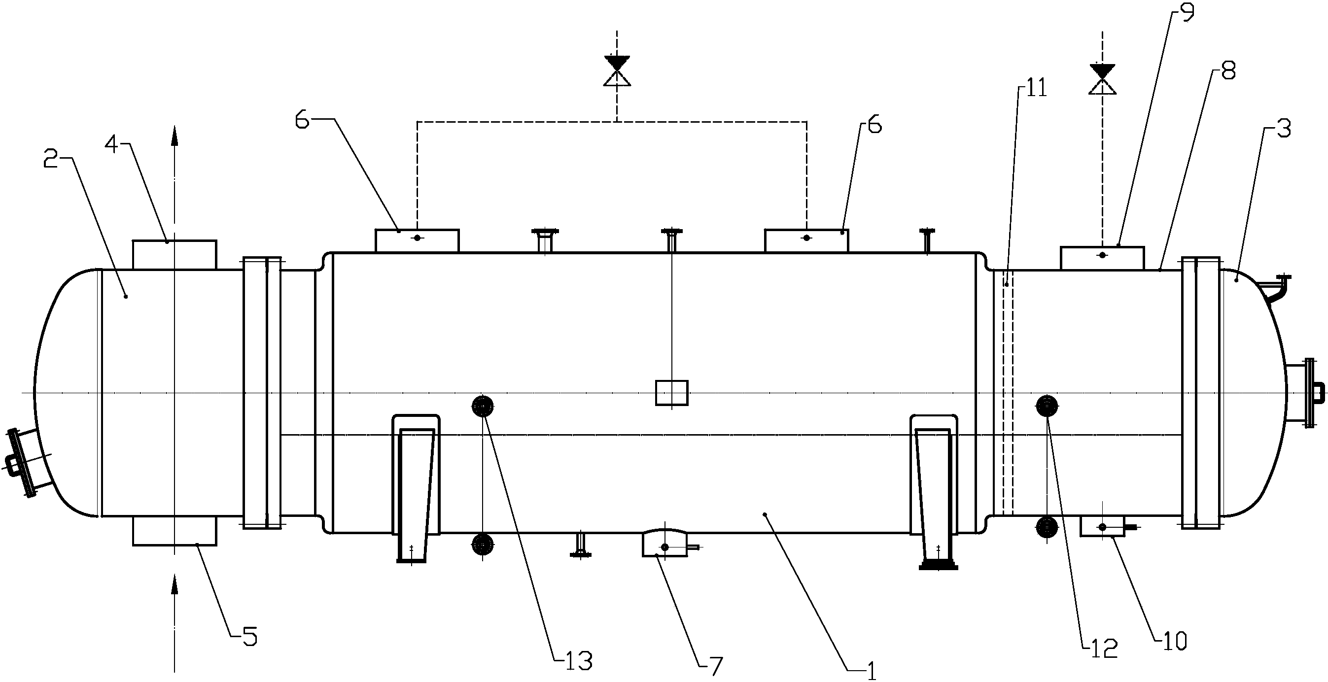
分压式热网加热器
图片尺寸2694x1384
四, 实验装置圆底烧瓶,铁架台,十字架,试管夹,烧杯,电炉,石棉网,玻璃
图片尺寸234x417
化学实验器材 酒精灯 三脚架 石棉网组合加热套装 三件套
图片尺寸1920x1920
实验室无铅玻璃 150/250ml加热 酒精灯 灯芯三脚架石棉网陶瓷灯塞
图片尺寸750x750
分离,提纯 实验仪器与操作步骤 仪器:烧杯,玻璃棒,石棉网,三脚架
图片尺寸1080x810
考题猜想-专题05 氯及其化合物-知识点
图片尺寸640x174
考题猜想-专题05 氯及其化合物-知识点
图片尺寸500x333
分压式热网加热器制造技术
图片尺寸511x1000