研钵手绘

卡通研钵漫画
图片尺寸311x300
研钵和研杵
图片尺寸1100x1100
研钵和杵与香料轮廓风格
图片尺寸1100x1124
手绘研钵和研杵孤立在白色背景上.
图片尺寸1100x1100
手绘线描研钵插画
图片尺寸650x673
研钵,线条,象征,矢量,插画,元素,风格
图片尺寸350x350
一种手握式分级筛分研钵
图片尺寸1000x785
cn202590921u_隔温研钵失效
图片尺寸1000x873
研钵的简笔画
图片尺寸500x500
一种制作元宵用的馅料磨碎研钵的制作方法
图片尺寸406x471
墨西哥研钵和杵是用于压碎和研磨正宗鳄梨酱或萨尔萨斯酱的传统香料的
图片尺寸300x300
卡通杵和研钵
图片尺寸1100x1192
隔温研钵
图片尺寸1000x652
一套研钵和杵
图片尺寸1100x1100
手绘线描研钵插画
图片尺寸1024x345
一种液氮研磨用研钵的制作方法
图片尺寸455x1000
一种改造型研钵的制作方法
图片尺寸1000x798
一种用于微量组织样本总rna抽提的研钵
图片尺寸335x443
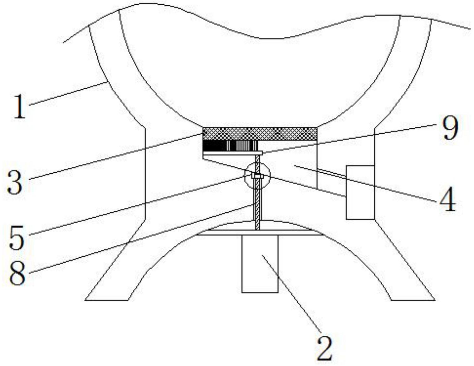
一种分子生物学试验用提取研钵
图片尺寸1519x1172
研钵和研杵
图片尺寸1100x1100