硅胶结构

硅胶
图片尺寸1279x1109
工程科技 能源/化工 硅胶基础知识ppt 关于硅胶 有机硅产品的化学结构
图片尺寸1080x810
硅胶,硅橡胶,有机硅胶,矽利康,什么是硅橡胶?
图片尺寸580x300
硅胶是什么硅胶有什么用硅橡胶是干什么的
图片尺寸726x450
干货丨硅胶键合c18与hlb小柱的性能差异比较
图片尺寸447x407
胶粘剂之硅胶基础
图片尺寸798x499
音乐播放器硅胶按键工艺结构图
图片尺寸558x241
硅胶结构及固化机理
图片尺寸1080x810
硅橡胶ppt
图片尺寸1080x810
新型硅胶管结构
图片尺寸907x1000
透明透光硅胶按键结构图
图片尺寸750x350
滴胶丝印导电硅胶按键工艺结构
图片尺寸692x332
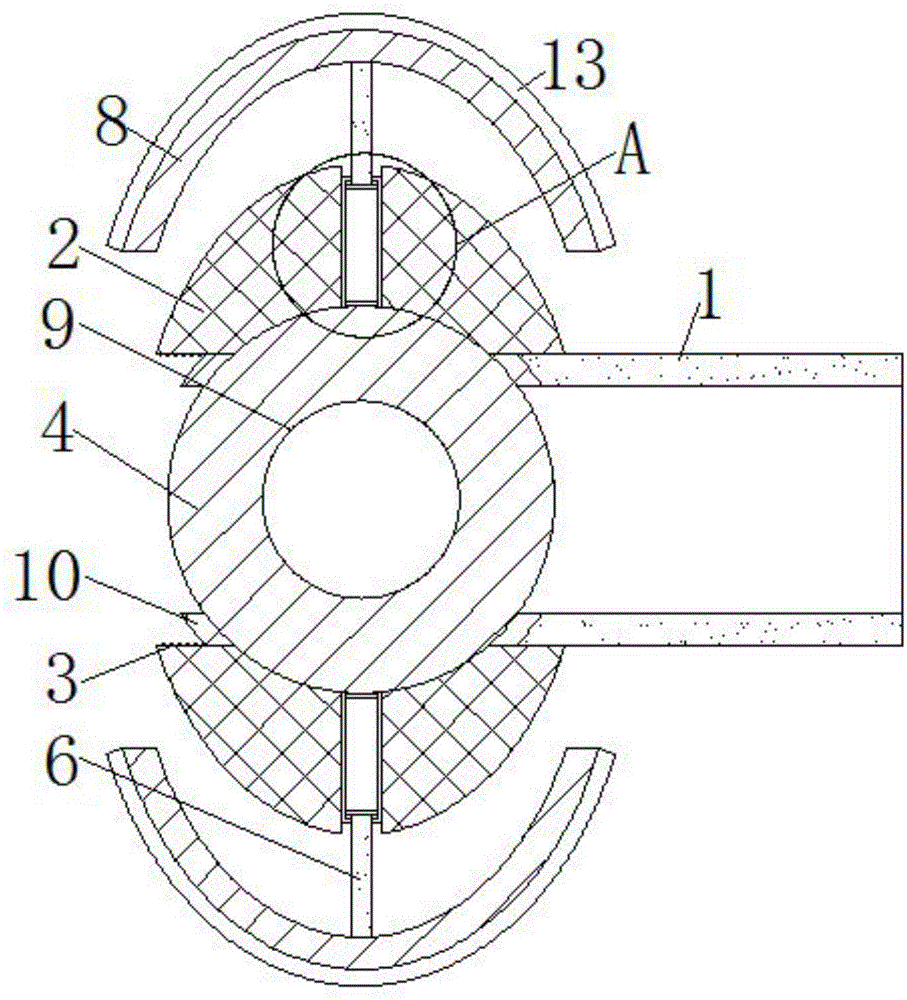
新型液压缸硅胶密封圈结构 - cn201310163946.
图片尺寸1000x910
液态硅胶lsr以其优异的特性,被认为是usb type-c接口防水硅胶结构的
图片尺寸720x720
卡扣式硅胶管结构示意图
图片尺寸486x291
结构设计硅胶结构设计资料总结向于智能手机00360
图片尺寸1203x621
这个连体硅胶如何僻免连动? 产品结构设计-icax开思论坛 - www.icax.
图片尺寸612x383
产品结构设计·硅胶结构设计相关知识整理
图片尺寸1080x592
上海道康宁995软胶中性硅酮硅胶结构胶耐候门窗防水幕墙玻璃密封
图片尺寸800x800
硅胶按键的典型结构
图片尺寸880x563