硬山式建筑结构图

四合院硬山式建筑
图片尺寸924x641
硬山建筑剖面图02小式合瓦鞍子脊硬山房小式合瓦皮条脊硬山房小式筒瓦
图片尺寸1080x771
小式前廊后无廊元宝脊硬山小式合瓦无廊硬山硬山建筑剖面图02小式合瓦
图片尺寸1080x681
硬山建筑的特征和主要形式
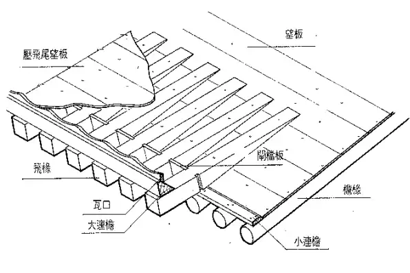
图片尺寸599x383
清东陵清西陵古建筑屋顶形式之硬山顶悬山顶和盝顶
图片尺寸640x951
19 975 硬山式是常见古建筑屋顶的构造方式之一屋面仅有前后两坡,左右
图片尺寸578x758
硬山建筑的特征和主要形式
图片尺寸769x621
硬山式居室建筑以不带斗拱的小式建筑为最普遍.
图片尺寸652x528
中国古建之脊兽古代大部分房子都是硬山顶.
图片尺寸658x1326
西安有一座楼,比天安门还要牛,楼下还镇着一个神秘动物
图片尺寸593x576
1)硬山搁檩形式坡屋顶的一种形式是把横墙上部砌成三角形,直接搁置檩
图片尺寸573x301
中国营造技术知识点硬山建筑
图片尺寸608x626
硬山顶,即硬山式屋顶,是中国传统建筑双坡屋顶形式之一.
图片尺寸640x303
修缮技术抽梁换柱建筑构架基本完整,只是个别梁,柱糟朽,失去承载能力
图片尺寸690x345
仿古建筑中墙体砌筑-墀头
图片尺寸701x595
清七檩硬山大木小式构架
图片尺寸400x409
基本屋顶样式:上左为庑殿顶,上右为歇山顶,中左为悬山顶,中右为硬山顶
图片尺寸1262x1074
这是因为中国传统硬山式住宅的主梁搭在山墙上的,而山墙常是承重墙
图片尺寸900x695
古建筑解说系列之硬山建筑 - 知乎
图片尺寸596x397
图释中国古建结构常识
图片尺寸638x342