碳化塔设备图

某公司活性炭废气吸附净化塔设备设计cad制作图纸甲级院设计
图片尺寸610x861
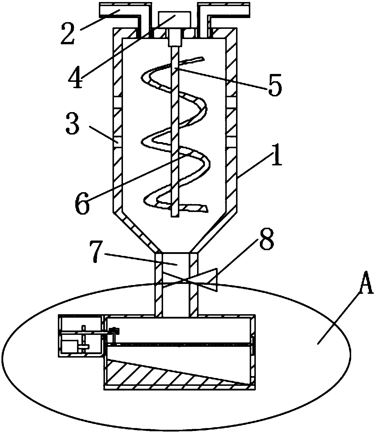
一种碱液用筛板式碳化塔
图片尺寸1262x2751
碳化塔厂家生产工艺介绍
图片尺寸1000x1333
山东昊福集团有限公司碳化综合塔
图片尺寸629x945
三元前驱体盘式干燥机_碳酸锂碳化提纯_氯化锂氯化钠分离_十水硫酸钠
图片尺寸600x380
碳化塔
图片尺寸600x450
厂家直销碳钢材质喷淋塔废气处理净化塔降温塔水喷淋塔碳钢喷淋塔
图片尺寸750x466
定制304不锈钢喷淋塔 碳钢废气塔有机废气处理 环保成套设备
图片尺寸1440x1080
定制304不锈钢喷淋塔 碳钢废气塔有机废气处理 环保成套设备
图片尺寸1080x1440
一种碳酸颗粒碳化塔-爱企查
图片尺寸1290x1487
废气净化处理设备,脱硫脱硝酸碱雾吸收塔
图片尺寸1080x1440
定制304不锈钢喷淋塔 碳钢废气塔有机废气处理 环保成套设备
图片尺寸1080x1440
连续碳化装置
图片尺寸1944x2592
甘肃乙酸乙酯塔厂家
图片尺寸380x500
碳化钨离心喷雾干燥机
图片尺寸640x640
碳化塔
图片尺寸550x416
pp喷淋塔除尘1
图片尺寸1280x1280
碳化塔
图片尺寸550x416
采用自主研发的外冷式碳化塔,新型变换气制碱碳化技术,大型节能氯化铵
图片尺寸515x386
酸碱废气塔
图片尺寸1080x1440