碳环密封结构图

一种近完全同心非接触式碳环密封结构的制作方法
图片尺寸590x1000
整体式碳环密封
图片尺寸1197x708
一种浮动自同心碳环密封
图片尺寸1378x2913
两瓣式碳环密封-爱企查
图片尺寸1766x2515
cn207715744u_一种用于阀门的碳石墨密封环有效
图片尺寸1091x868
dc73高压碳环密封
图片尺寸1596x1596
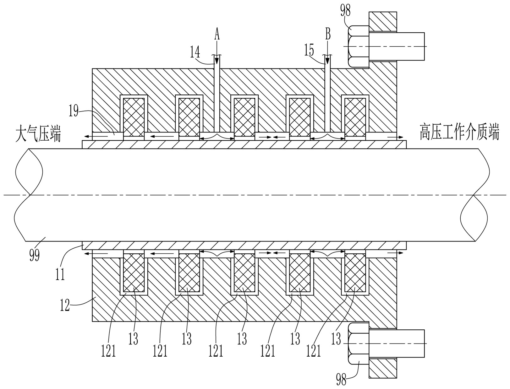
混合密封介质的碳环密封系统和方法
图片尺寸1623x1239
碳环密封的结构包括环形密封腔体和环形轴套,密封腔体内有环形槽,槽内
图片尺寸350x385
机械密封
图片尺寸1080x810
一种迷宫式碳环密封制造技术
图片尺寸1000x945
碳环密封结构中波形弹簧预紧力的测量方法与流程
图片尺寸970x1000
一种便于装配的碳环密封结构的制作方法
图片尺寸856x1000
大轴径多瓣式碳环密封的制作方法
图片尺寸850x1000
一种收缩密封碳环及其安装结构的制作方法
图片尺寸997x1000
磁铁碳环汽封环环形密封腔体和环形轴套,密封腔体内设有多个有环形槽
图片尺寸443x403
cn212318778u_一种风机用带碳环密封装置有效
图片尺寸1058x1061
机械密封的基本形式,接触式密封的结构和应用,值得保存学习
图片尺寸7576x5376
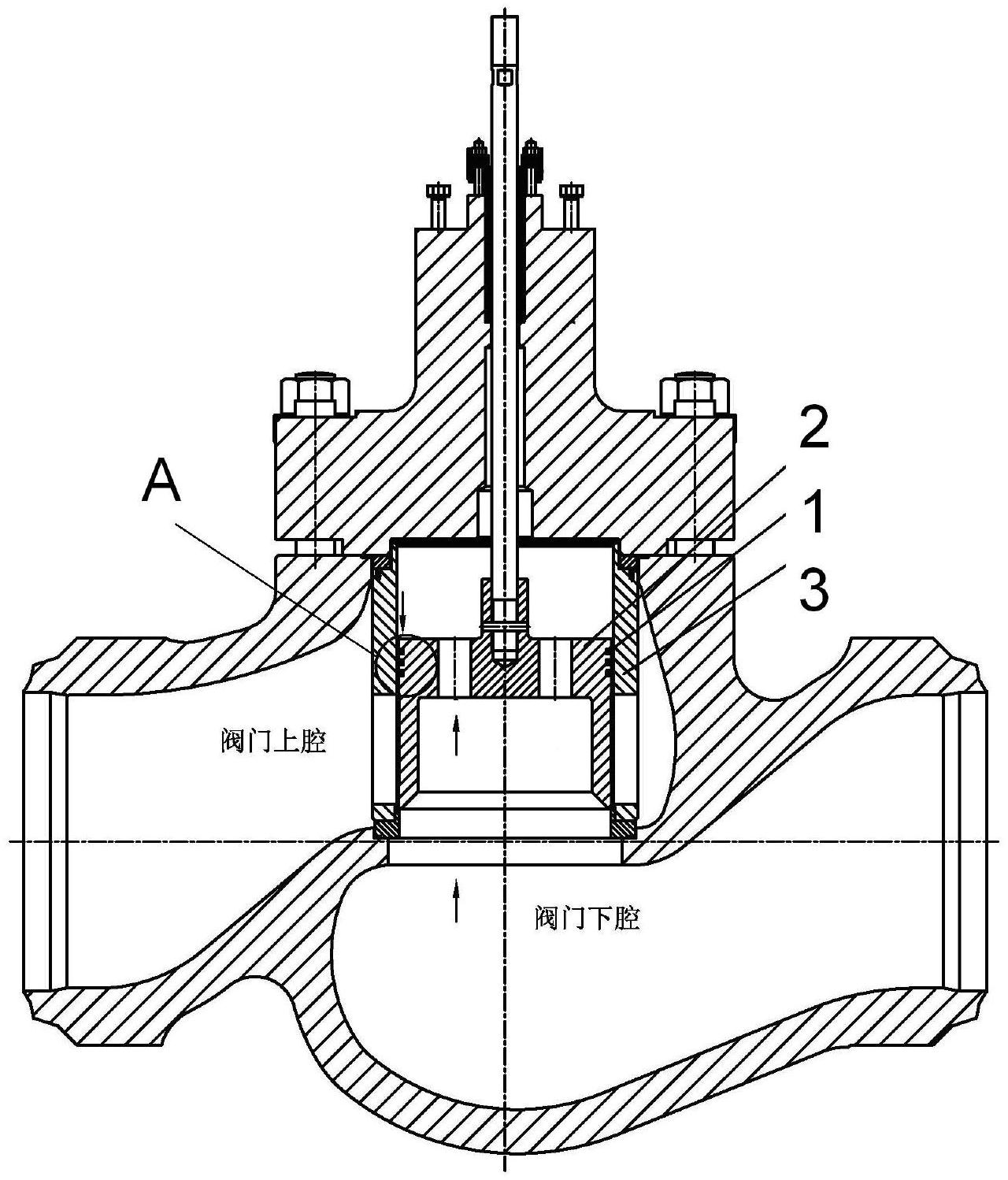
具有碳石墨密封环的阀门
图片尺寸1280x1498
密封介绍
图片尺寸836x671
附图机械密封结构图1-静环;2,6,9,14,16-o形环;3-弹簧;4-静环座;5
图片尺寸600x552