磁力搅拌器装置原理图

cn213376335u_一种恒温磁力搅拌器有效
图片尺寸467x395
磁力密封搅拌器,反应釜磁力密封搅拌器
图片尺寸523x666
一种用于细胞培养的上磁力搅拌装置
图片尺寸1430x2345
电磁搅拌器
图片尺寸1441x927
一种便于维护的磁力搅拌器的制作方法
图片尺寸542x1000
物理化学装置的制造及其应用技术一种水浴加热组合式磁力搅拌器,包括
图片尺寸930x1000
磁力搅拌器的结构与工作原理概述
图片尺寸434x329
磁力搅拌器不能杀菌,加热时间过长会造成不便
图片尺寸463x316
反应装置技术领域,尤其涉及一种可程序控温数显转速集热式磁力搅拌器
图片尺寸398x443
一种方便固定的控温磁力搅拌器的制作方法
图片尺寸767x1000
上磁力搅拌器 工作原理
图片尺寸500x659
厂家直销实验室用小型数显型集热式恒温磁力搅拌器现货包邮
图片尺寸1024x735
山东菏泽鑫源仪器仪表专业生产销售xyhc-3型双数显恒温磁力搅拌器
图片尺寸495x400
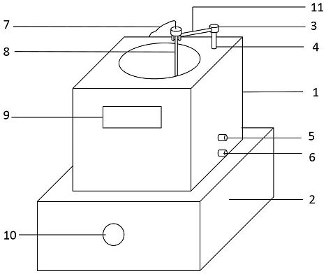
磁力搅拌器的制作方法
图片尺寸609x564
一种实验室用的快速混合磁力搅拌器的制作方法
图片尺寸966x1000
一种电磁搅拌装置的制作方法
图片尺寸981x1000
磁力搅拌器的制作方法
图片尺寸434x323
一种磁力搅拌器-爱企查
图片尺寸1729x1360
侧入式磁力传动搅拌机
图片尺寸1089x2451
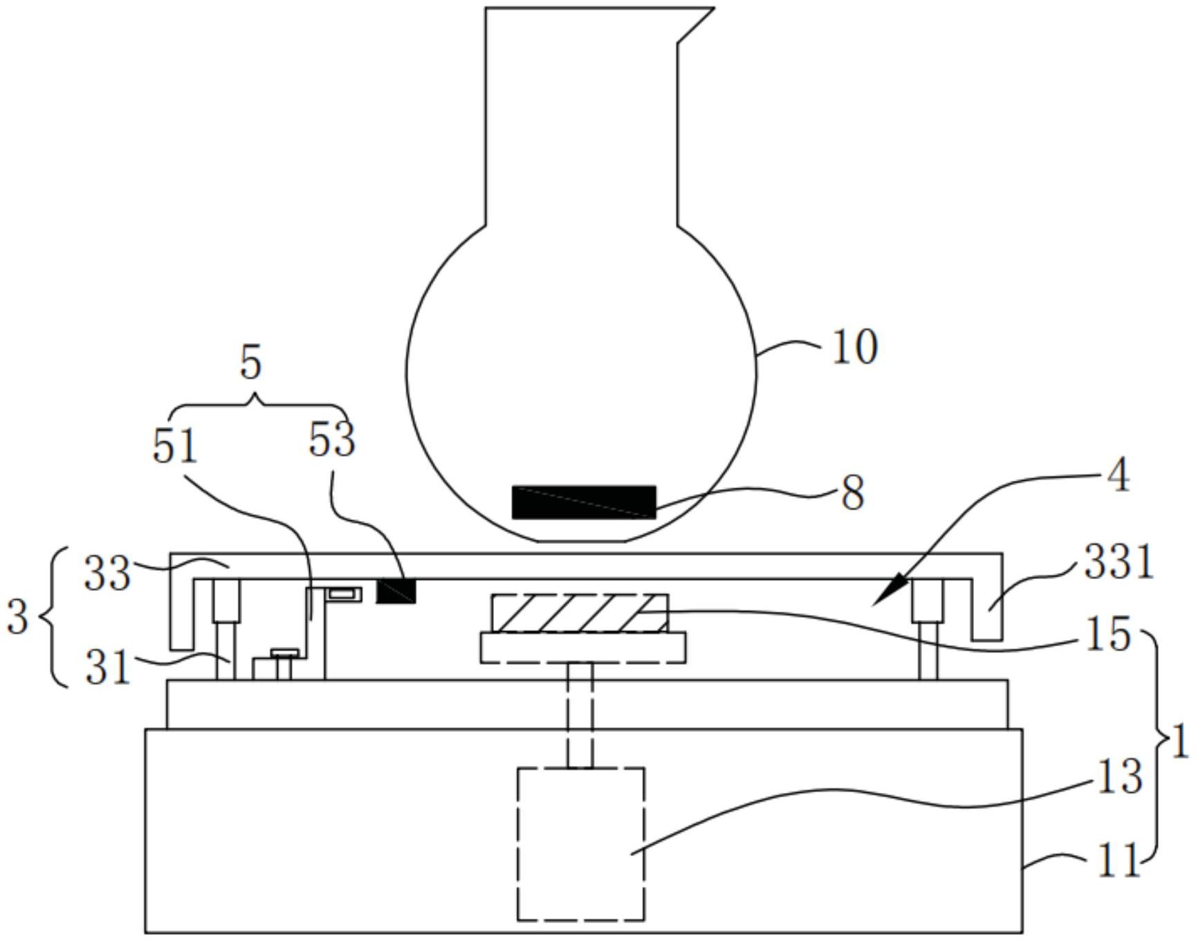
一种用于大转矩磁力搅拌器的磁力密封装置制造方法及图纸
图片尺寸407x1000