磁力片简笔画

x磁力片(1)-爱企查
图片尺寸1031x918
一种磁力片构件拼装玩具-爱企查
图片尺寸243x243
悦乐朵儿童磁力片积木58件套百变提拉磁铁拼装建构片磁性套装早教玩具
图片尺寸750x961
一种益智磁力片玩具组件制造技术
图片尺寸987x1000
夜光磁力片的制作方法
图片尺寸1000x533
磁力卡片简笔画
图片尺寸466x376
一种磁力建构片的制作方法
图片尺寸996x1000
磁力的简笔画 简笔画图片大全-普车都
图片尺寸720x480
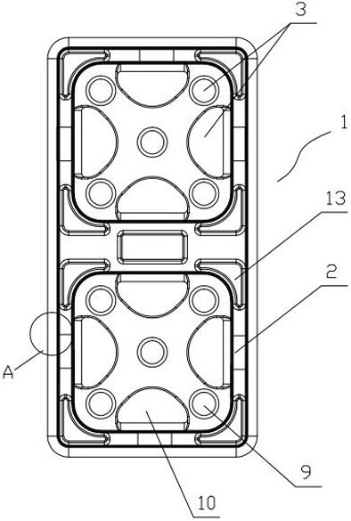
所述的磁力吸板本体包括两块相互卡扣连接的磁力片扣板
图片尺寸394x585
磁力片作画用磁力片铺成弯曲的轨道,不比brio,风火轮差啊~同时,也可以
图片尺寸1280x960
磁力片百变提拉积木散片儿童益智玩具配件单件散件
图片尺寸500x500
风车磁力片
图片尺寸610x749
磁力片怎么玩附拼搭图纸
图片尺寸1080x1080
哒哒哒搭磁力积木 百变立体磁性铁磁力片积木*玩具建构片(239片套装)
图片尺寸750x1203
共138 件球形魔方球相关商品
图片尺寸800x800
优彼(ubbie)磁力片积木 78片装 百变提拉磁性积木 环保abs材质 早教
图片尺寸750x583
磁力片拼图形这样玩好玩有趣还能锻炼宝宝动手能力和逻辑思维能力
图片尺寸531x226
早教素材磁力片拼搭80页立体造型
图片尺寸1080x1439
磁力片儿童益智吸铁石磁性玩具卡片男女孩宝宝英文字母数字磁力贴
图片尺寸750x750
美国magfx精钢二代儿童磁力片散片磁力片积木正方形三角形
图片尺寸800x800