磁芯模具

磁性材料模具
图片尺寸700x491
设计制作塑磁模具 模具加工
图片尺寸1920x1440
塑磁精密模具
图片尺寸852x1136
电机磁芯成型模具 粉末成型模具 双孔椭圆镜面模具 水泵转子模具
图片尺寸750x750
科士达磁芯模具
图片尺寸745x519
纳米晶共模电感磁芯
图片尺寸1436x709
钕铁硼(阴模 冲头) 产品类别磁芯模具 产品型号
图片尺寸756x567
铁氧体磁芯模具
图片尺寸650x475
粉末冶金-硬质合金伺服粉末成型机_控制_驱动_设备
图片尺寸650x518
注塑机磁力模板
图片尺寸500x375
钕铁硼(阴模 冲头 冲头连杆) 产品类别磁芯模具 产品型号
图片尺寸836x628
建欣
图片尺寸1500x1000
马达芯片 芯片模具 定子模具 马达模具 芯片转子模具 转子模具
图片尺寸1440x1920
img111116135306234221
图片尺寸600x600
【磁芯开模具】uy磁芯模具,大功率磁芯
图片尺寸500x428
吉安磁力边模
图片尺寸2268x2268
山西冲压模具加工免费咨询山西耐力达
图片尺寸700x600
企讯网-朝阳企讯通-专业提供企业移动与传统互联网一站式网络营销服务
图片尺寸800x800
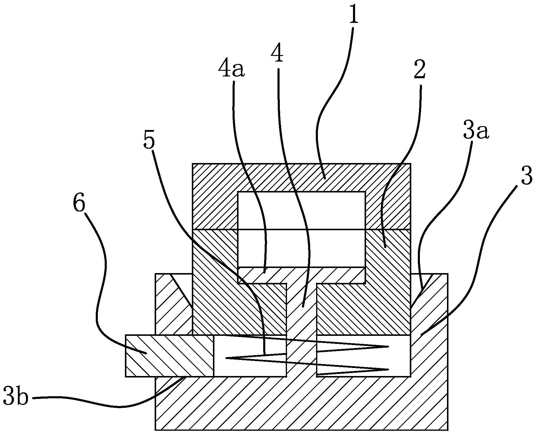
高密度磁芯的高效成型模具-爱企查
图片尺寸1799x1459
高硬度铁氧体磁芯定制粉末冶金铁芯磁体硬件硬质合金电镀模具 - buy
图片尺寸752x346