空压机洗井原理图

空压机洗井示意图
图片尺寸760x566
空心杆洗井     空心杆洗井:  1,技术原理:空心杆洗井是一
图片尺寸378x447
空压机洗井示意图
图片尺寸350x265
压井示意.jpg
图片尺寸792x458
空气激荡洗井示意图
图片尺寸600x922
所述高压风管包括地上风管,地下风管,所述地上风管连接有空压机,所述
图片尺寸1000x987
空压机原理图
图片尺寸2667x2000
油田专用空气源高温清蜡洗井装置及采用方法 - cn201810031602.
图片尺寸1000x987
图1 自动反冲洗过滤器原理图(三) ,主要技术参数设计温度: 80℃设计
图片尺寸750x503
洗井方法和洗井系统与流程
图片尺寸1000x936
旋流排砂洗井系统
图片尺寸1000x850
空压机原理图
图片尺寸2667x2000
3 轻型井点降水 ⑴ 轻型井点的设备 由管路系统(滤管,井点管,弯联管及
图片尺寸1170x810
空压机洗井概述
图片尺寸920x1303
洗井工作原理
图片尺寸436x359
银河时光机器人创客学院——可可老师周六10:00班《压水井》
图片尺寸1599x1199
一种利用注氮气进行分层注入井洗井的工艺方法与流程
图片尺寸1000x803
一种在线洗井循环系统技术方案
图片尺寸711x587
知识干货重点行业企业用地调查技术如何实现地下水低速采样及洗井规范
图片尺寸685x353
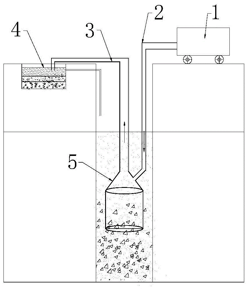
混合腔上部还通过高压空气管道与空气压缩机相连,一种洗井施工方法
图片尺寸854x997