穿心螺杆

穿心螺杆
图片尺寸369x256
定子铁芯穿心螺杆
图片尺寸400x308
金银台电厂发电机定子穿心螺杆处理初探
图片尺寸1410x2014
一种水轮发电机定子铁心穿心螺杆结构
图片尺寸1834x1755
一种干式变压器穿心螺杆绝缘体系结构
图片尺寸1335x1070
s5恒舰z300 克维思ktm exc款坐垫长螺杆座包座椅固定螺丝穿心螺杆
图片尺寸800x800
轻钢龙骨配件 50/ 60 对撬螺丝 穿心螺丝 穿心螺杆
图片尺寸300x400
304不锈钢空心螺杆丝杆升降调节全牙通丝连接加长杆吊杆螺纹牙条
图片尺寸800x800
一种变压器铁芯穿心螺杆组件
图片尺寸919x1000
基于穿心螺杆的汽轮发电机转子绕组匝间短路诊断方法与流程
图片尺寸1000x330
止水螺杆 防水螺杆 穿心螺杆 建筑对拉螺丝 可调托螺杆 防水丝杆 止水
图片尺寸800x800
集成吊顶穿心螺丝 螺杆螺母38大吊50大吊对穿螺杆
图片尺寸750x750
一种干式变压器穿心螺杆与dmd圆环分层固定装置的制作方法
图片尺寸1000x517
1设备简述铁心穿心螺杆为发电机定子铁心叠片的压紧部件,溪洛渡电站
图片尺寸614x410
螺杆
图片尺寸1920x1440
厂家直销 mpi绝缘u型槽 绝缘插板 u型绝缘槽 绝缘护罩 推荐
图片尺寸1000x1000
螺杆
图片尺寸1920x1920
三段式建筑止水螺杆穿墙螺栓螺丝建筑工地止水对拉螺杆穿墙螺丝杆
图片尺寸1000x1778
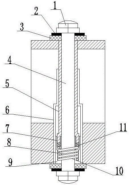
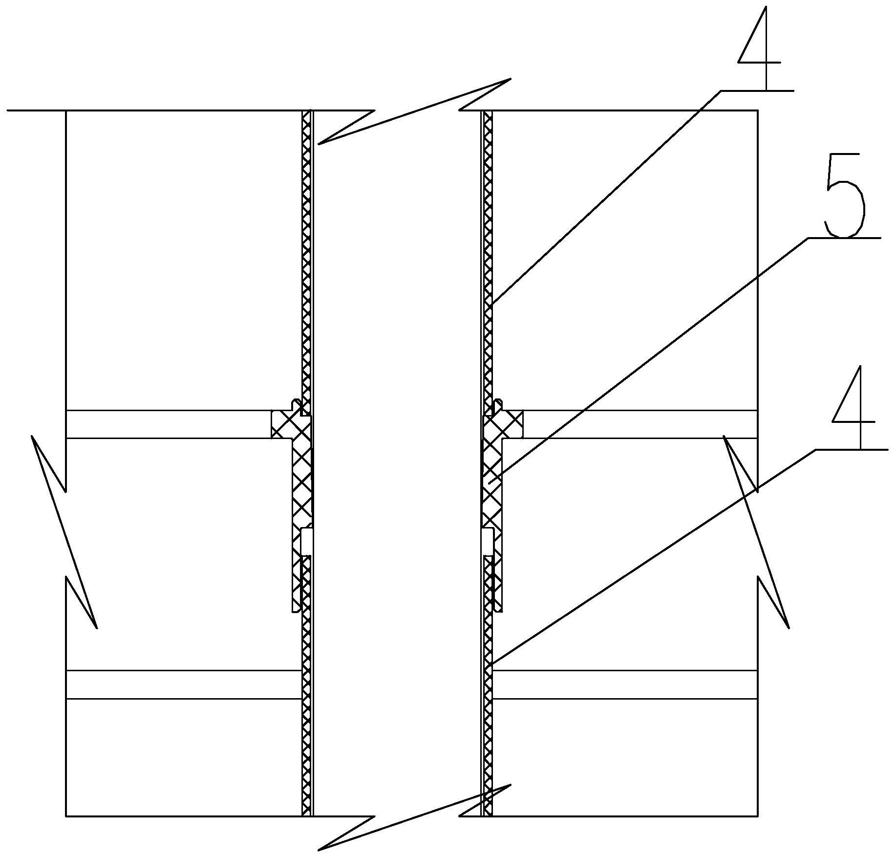
cn208386258u_定子穿心螺杆绝缘结构有效
图片尺寸454x647
冠杰 空心螺杆 全螺纹螺柱 高强度双头栓 工程机械配件
图片尺寸750x750