穿针引线机构简图

穿针引线如何在缝纫机上穿针引线
图片尺寸1296x760
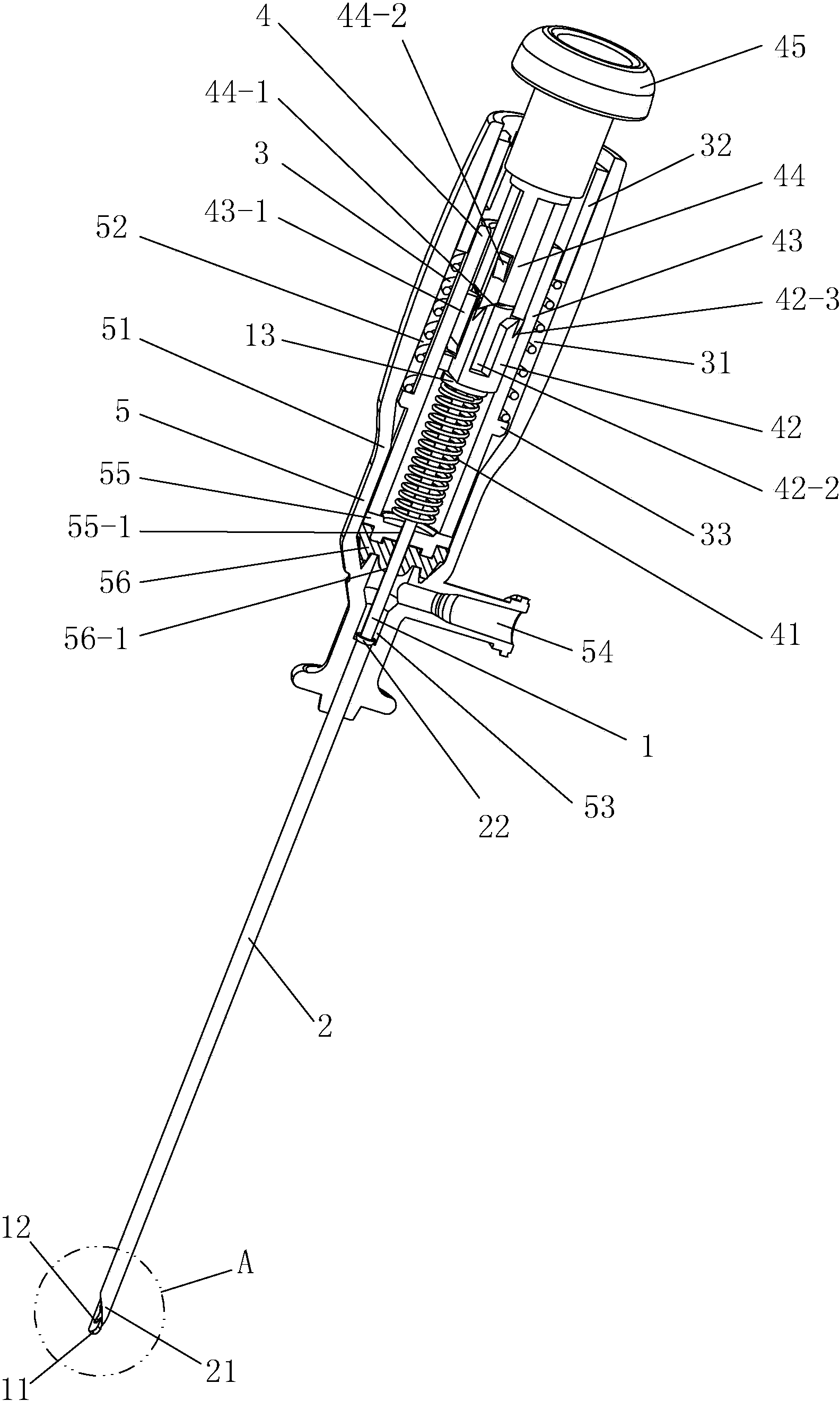
本发明之引线穿刺针含芯杆,穿刺针,引线机构及手柄.
图片尺寸1584x2642
机械原理课程设计-缝纫机导针机构设计及其运动分析
图片尺寸959x1356
山地公路自行车穿线工具内走线工具碳纤维车架线管磁铁引线穿线器
图片尺寸800x800
一种便于引线入针的家用缝纫机的制作方法
图片尺寸609x465
cn108221202b_一种梭芯绕线穿线机构及方法,缝纫机
图片尺寸1742x1900
一种穿线机的拉线装置的制造方法
图片尺寸1000x716
三线锁边机穿线示意图
图片尺寸750x562
一种浮动引针机构的制作方法
图片尺寸1000x749
一种电子油门自动穿线组装工装
图片尺寸443x359
solidworks羽毛球拍穿线机3d图纸三维模型下载
图片尺寸914x614
一种电线电缆穿线装置的制作方法
图片尺寸832x1000
cn208271730u_穿套管绕线机有效
图片尺寸2058x1386
cn1156623c_缝纫机的引线机构失效
图片尺寸618x709
一种智能型文档装订机穿线勾线机构_cn201910323105.3_知雀网
图片尺寸852x1000
cn1225697a_绣花用缝纫机的引线装置失效
图片尺寸937x943
专利详情
图片尺寸260x248
【缝纫机穿线】缝纫机线怎么穿 电动缝纫机穿线图解
图片尺寸481x397
cn206477109u_一种回转式软管编织机有效
图片尺寸1000x953
1 缝纫机导针及紧线机构设计及其运动分析任务书
图片尺寸422x462