窗口翻包网格布示意图

(门窗洞口网格布翻包做法)
图片尺寸560x243
门窗洞口网格布加强示意图
图片尺寸615x456
找平→预拌胶粘剂→预粘板边翻包网格布→粘贴模塑聚苯板→设置罚3)
图片尺寸392x418
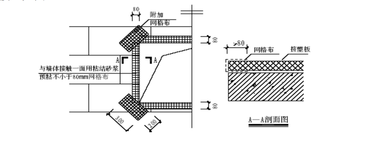
窗口侧面反包网格布不小于200mm
图片尺寸546x380
牛x工程门窗外保温一般都这么做
图片尺寸399x424
zb-b01粘结.
图片尺寸601x346
翻包网格布示意图
图片尺寸560x427
算保温窗翻包网算法为周长乘个数乘033是否是对的山东地区求
图片尺寸1416x969
应在洞口四角处沿 45°方向补贴一块 200mmx300mm的标准网格布,以防止
图片尺寸640x369
在门窗等洞口四周和阴阳角处网格布翻包,均应附加一层网格布加强,整幅
图片尺寸640x469
对于其他保温端口的岩棉板端头也应用网格布和粘结砂浆将其翻包住
图片尺寸525x782
网格布翻包
图片尺寸840x468
在此处的阳角部分45°各加一层300mm×400mm 网格布进行加
图片尺寸522x313
门窗洞口附加网格布示意图
图片尺寸560x319
网格化示意图图片
图片尺寸991x475
翻包网格布做法图
图片尺寸960x401
窗洞口eps板排布及网格布加强层示意图
图片尺寸470x560
10 网格布翻包:从拐角处开始粘贴大块保温板或岩棉带后,遇到阳台,窗
图片尺寸496x302
网格布翻包.png
图片尺寸760x307
11 抹面层抹面胶浆1 抹完上一层抹面胶浆并压入网格布后,待胶浆凝固至
图片尺寸496x361