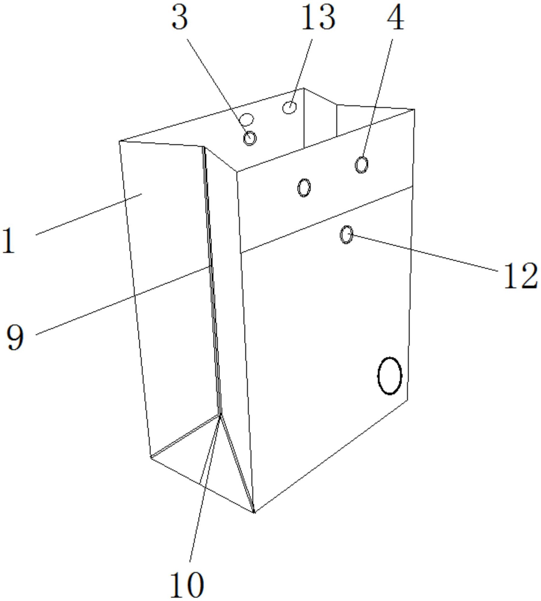
立体口袋结构图

cn211544433u_一种易折叠的立式手提袋有效
图片尺寸962x1315
成,这种包装盒一般不能进行折叠,折叠可能造成内部纸盒单元结构的破坏
图片尺寸446x279
工厂塑料食品包装袋真空零食干果坚果糖果咖啡拉链自封复合包装袋
图片尺寸790x1200
手提袋结构
图片尺寸701x2315
纸袋包装厂,生产贵州三宝纸制手提袋,彩色亚膜工艺手提纸袋加工
图片尺寸787x582
校园衍生产品纸袋
图片尺寸1280x905
口袋款式图结构图
图片尺寸400x439
否 加工定制 是 用途 通用包装 款式 打孔袋,折叠袋,背包袋,束口袋
图片尺寸745x477
立体结构集装袋
图片尺寸826x1134
集装袋花生果集装袋集装袋
图片尺寸530x678
包装储藏运输设备的制造及其应用技术
图片尺寸968x1000
包装储藏运输设备的制造及其应用技术
图片尺寸905x1000
一种双层内部结构的包装袋
图片尺寸1800x2000
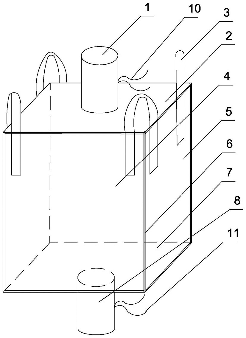
一种手提袋结构的制作方法
图片尺寸1000x942
包装储藏运输设备的制造及其应用技术
图片尺寸844x1000
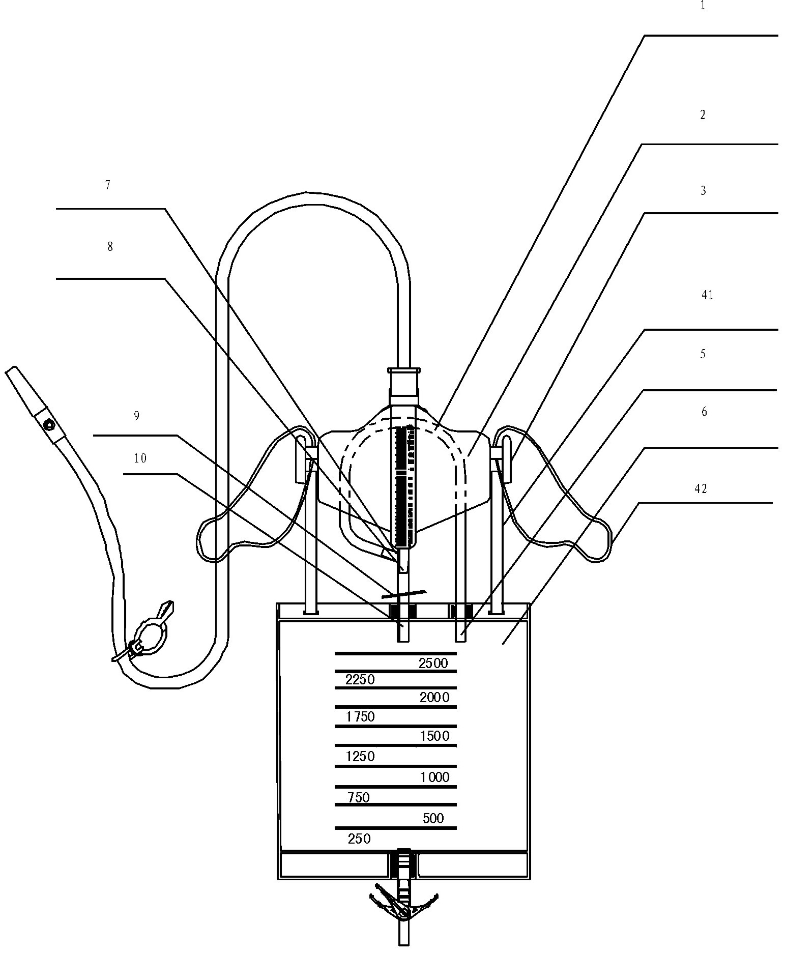
一种精密尿袋
图片尺寸1545x1873
方型上小口边缝吨包袋厂家直供集装袋拼接立体编织吨包
图片尺寸680x428
一种集装袋制造技术
图片尺寸808x1000
厂家直销 真空食品包装袋定做复合红枣包装袋定制八边封袋子批发
图片尺寸750x1085
一种分离式手提袋的制作方法
图片尺寸858x1000