立式搅拌减速机结构图

普斯机架立式bld/xld摆线针轮减速机搅拌高矮tj/tja型机架联轴器 tja5
图片尺寸790x1002
蜗轮蜗杆减速机结构图
图片尺寸750x403
zl螺旋锥齿轮立式减速机
图片尺寸650x710
二,减速器结构
图片尺寸1622x1062
减速器结构示意图
图片尺寸1254x1104
减速机的种类及选用
图片尺寸638x830
加药桶立式摆线减速机带电机搅拌机污水液体溶药工业洗洁精搅拌器
图片尺寸797x797
减速机结构图
图片尺寸801x905
立磨减速机结构图以及安全注意事项
图片尺寸1584x1036
减速机结构图剖面图
图片尺寸714x476
ck450立磨控制说明
图片尺寸1696x1070
cn201339683y_水泥搅拌车减速器失效
图片尺寸1867x1648
污水液体加药搅拌机立式减速机工业化工洗洁精加药桶搅拌器电机泵 380
图片尺寸750x696
混凝土搅拌车的减速器的制作方法
图片尺寸944x1000
r系列齿轮减速机结构图及型号表示方法
图片尺寸1072x803
r系列减速机有多种电机组合,安装位置和结构方案,可按你的实际需要
图片尺寸626x303
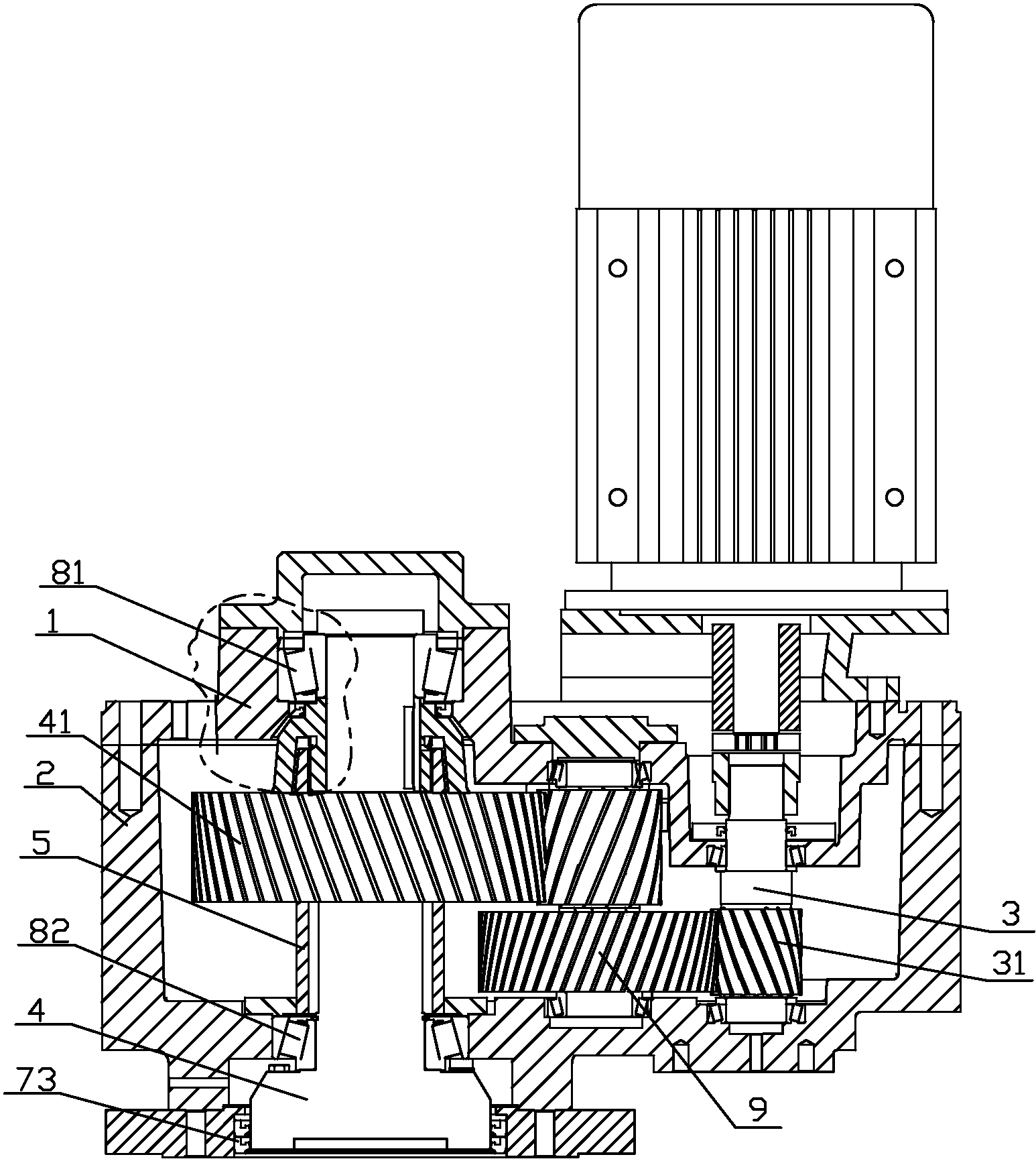
一种无漏油立式专用减速机
图片尺寸1546x1729
厂家直销zsy减速机 圆柱齿轮减速机 减速器可非标定做
图片尺寸500x438
减速器的拆装和结构分析(1)
图片尺寸782x1108
混凝土搅拌站变速箱 m311r减速机 行星减速机
图片尺寸1796x1920